Продолжение поста «Ансатам предъявить хвосты к осмотру!»1
Время прочтения три минуты
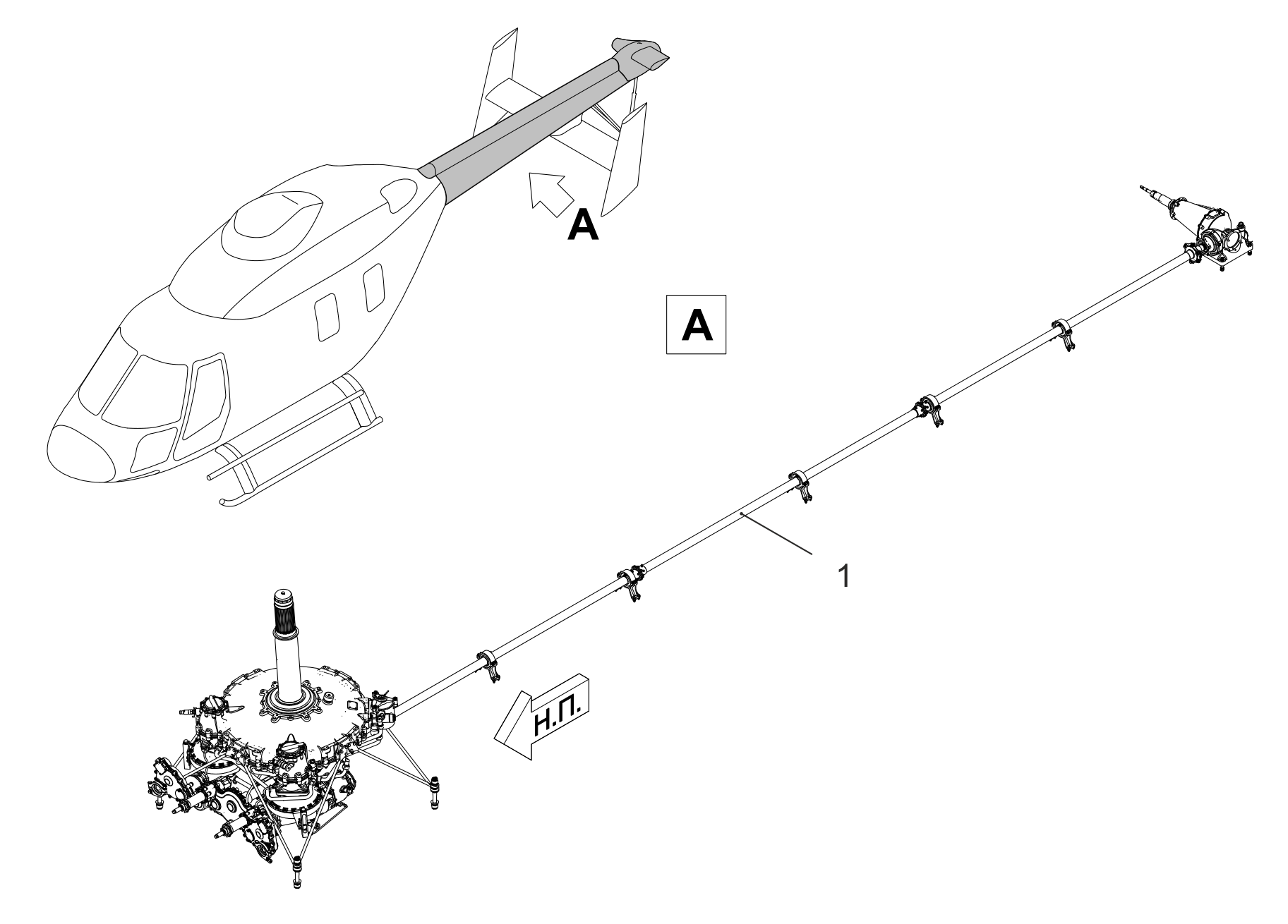
В дополнение к трещинам хвостовых редукторов и расслоениям лопастей рулевых винтов теперь появились претензии еще и к хвостовым валам Ансатов.
Вышла новая директива лётной годности, которая намекает на разрушение хвостового вала Ансата:
Поскольку этот борт относится к госавиации — естественно это происшествие останется в тени и результаты его расследования смогут проявить себя только в таких вот ДЛГ и/или других эксплуатационных документах.
Данная директива предписывает эксплуатантам провести визуальные осмотры хвостовых валов Ансатов в течение ближайших 10 лётных часов, причём не только уже установленных, но и находящихся в хранении на складах (с редукторами и лопастями было аналогично, см. стартовый пост). При выявлении следов коррозионных происхождений и вздутий лакокрасочного покрытия, валы необходимо отстранить от эксплуатации и направить в ремонт для замены труб независимо от их техсостояния. Также, повторному ремонту подлежат все валы определённой серии, ранее прошедшие капремонт без замены труб, вне зависимости от состояния.
Более того, директива устанавливает периодичность дополнительного визуального осмотра хвостовых валов каждые 50 часов наработки или раз в 90 календарных дней.
Источник:
Директива лётной годности 2025-FATA-010144R-06.
Итого: трещины корпусов хвостовых редукторов, расслоение лопастей хвостового винта и коррозия хвостовых валов.
Диагноз: хвосты Ансатов серьёзно болеют.
А если без сарказма — эти три дефекта, причем каждый по отдельности, могут привести к полной потере путевого управления Ансата.
Потеря путевого управления — один из самых сложных и опасных отказов, требующий от пилотов высочайшего уровня профессионализма и даже везения.
Однако более того, эти дефекты способны нарушить целостность конструкции вертолета в полёте, практически гарантировав катастрофу.
Собственно поэтому и появляются подобные категоричные директивы. Главное чтобы вовремя.
Разрушение привода рулевого винта Ми-28 в 2015 году:



От винтов!
910 постов929 подписчиков
Правила сообщества
1. Посты по теме в шутку и всерьёз.
2. Перед запуском осмотреть теги, убедиться что матчасть знакома, а чувство юмора включено и законтрено.
3. При возникновении подгораний, нервных вибраций - рекомендуется немедленно выйти и скрыть от себя посты сообщества и/или автора.
4. Будьте вежливы, соблюдайте культуру и уважайте друг друга.
5. Оффтоп, флуд, ксенофобия, хамство, оскорбления и прочее токсично неадекватное поведение - повод к отстранению без предупреждения.