Может кому интересно
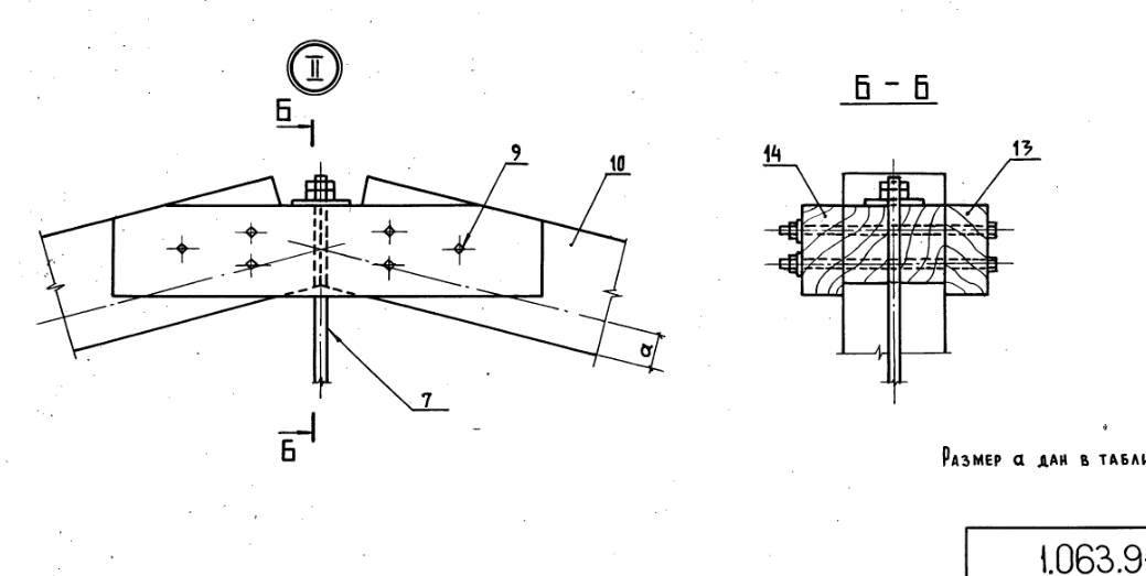
Может кому интересно будет, кто занимается стройкой или для себя. Вот такие фермы собираю уже второй раз. Первый проект это мой гараж. Пролёт 8.5 метров. В этом- 9 метров. Гараж стоит уже 10 лет, все прекрасно
Размер здания 34*9. Стоит уже год. Так что схема рабочая. Хотя придуманы эти конструкции уже очень давно. Сейчас делают подобные фермы на меллозубчатых пластинах. Но что то я их даже в продаже не нашёл. Схема из советских учебников по деревянным конструкциям. Так что если кому интересно, поделюсь тем что знаю















Строительство и ремонт
10.9K поста48.6K подписчиков
Правила сообщества
Правила оформления постов.
Посты видеоролики должны обязательно иметь описание о чём видео. Если видео длинное, то крайне желательно указать время, когда и о чём рассказываете.
В случае нарушения пост выносится из сообщества.
Правила общения.
Запрещено регулярное хамское и неуважительное обращение к другим участникам сообщества в рамках общения в комментариях. В случае первого нарушения бан в сообществе на 2-3 недели. В случае повтора постоянный.
Про нейросети
Тексты сгенерированные нейросетью, выносятся из сообщества, пользователь блокируется на неделю. При повторном нарушении перманентный бан для пользователя.
Про рекламу
Рекламные посты от платных/бесплатных аккаунтов запрещены. За первое нарушение блокировка на 7 дней. За второе перманентная блокировка.
Только для профессиональных участников рынка строительных услуг. (публикующихся регулярно)
Пост должен быть основан на личном опыте.
Должен быть информационно-познавательным (разъясняет/ объясняет что-то связанное с материалом/работой/организацией/и.т.д.) или пищей для ума (Взгляд на проблему, с другой стороны)
Запрещается публикация видео длиной более 5 минут без текстового таймлайна. ( надо указать где и о чём вы рассказываете в видео)
Не злоупотребляйте тэгами. Количество своих тэгов не более 4х шт. Тэги проставляемые системой не учитываются. (Длиннопост, видео, и.т.д.)