Хочу поделиться1
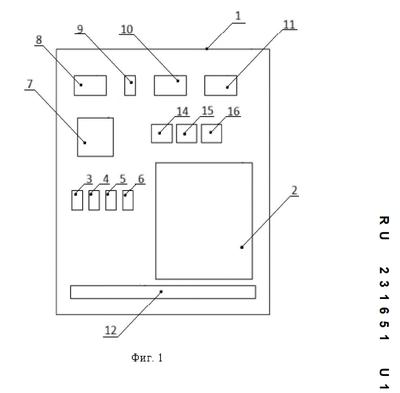
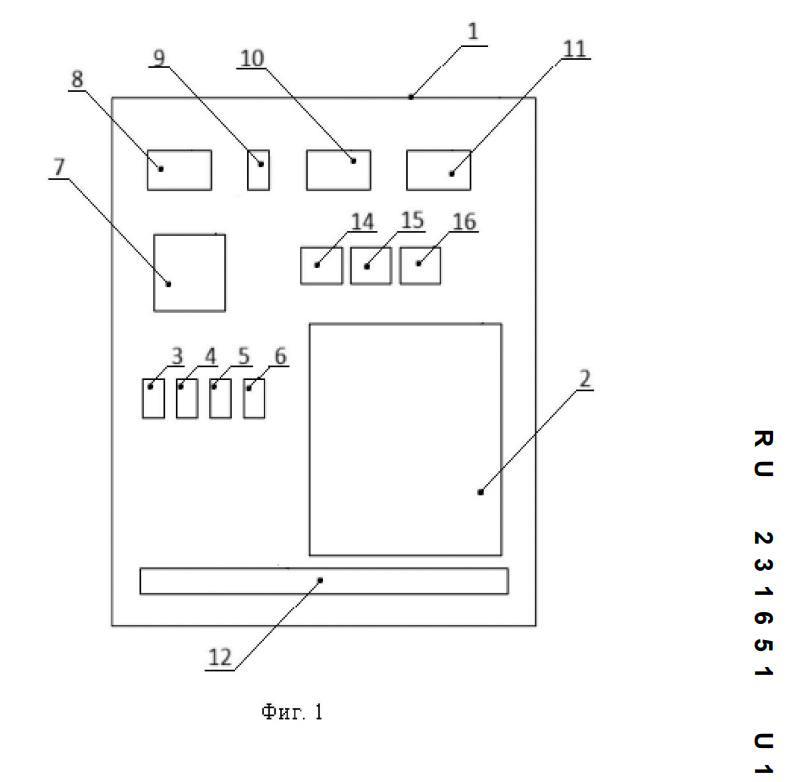
Пикабутяне, хочу поделиться радостным, для меня, событием. РОСПАТЕНТ признал мою разработку полезной моделью, теперь я маааленький, но изобретатель! Осталось внедрить разработанное в жизнь. Порадуйтесь вместе со мной. Очень приятно было видеть награды воинов, может на Пикабу ещё разработчики-выдумщики патентованные есть?
















Механизмы радости
2.2K поста6.3K подписчиков
Правила сообщества
Не приветствуются комментарии, портящие дружелюбную атмосферу сайта. Если пост вам не нравится, поставьте ему минус, не увеличивая количество негатива в мире. Спасибо!
Призывайте , если видите нарушение правил сообщества или некорректные теги.
Атмосферу особенно нарушают грубые комментарии о:
- возможном рекламном характере поста
- принадлежности информации к сайту "Одноклассники"
- бессмысленности и неуместности поста на сайте
Могут быть вынесены из сообщества в общую ленту следующие посты:
- о пристройстве и лечении животных
- о спасении ценой чьей-то жизни
- юмор ради юмора, милота ради милоты
- посты со счастливым концом, содержащие красочные описания предшествующих негативных событий
- неподходящие тематике сообщества