Про космическую ручку и карандаш
Наверняка многие слышали забавную байку о том, что NASA потратило миллионы долларов, чтобы создать ручку, способную писать в невесомости, а советские космонавты использовали карандаш... И это дествительно почти правдивая история, описать которую можно старым анекдотом:
— Правда ли, что Цукерман выиграл в лотерею миллион?
— Правда! Только не Цукерман, а Сахарович, не в лотерею, а в покер, не миллион, а три рубля, не выиграл, а проиграл.
Как делать записи и пометки в космосе?
Задача нетривиальная. Шариковые ручки не подходят – чернила просто перстают смазывать шарик при нулевой гравитации. В итоге первые космонавты писали поначалу карандашами. Вот что сам Гагарин говорил на этот счет в докладе для государственной коммиссии сразу после полета:
Производил я и записи. На вопросы хотел ответить. Взял планшет, карандаша нет. Улетел куда–то. Было ушко привернуто к карандашу шурупчиком. Шуруп вывинтился и карандаш улетел, осталось на шнурке одно ушко от карандаша.
В итоге советсткие космонавты писали восковыми карандашами. Когда такой карандаш затуплялся, достаточно было просто оторвать обмотанную вокруг него бумагу, чтобы восстановить пишущие свойства. Однако и такое решение имело свои недостатки – пишет такой карандаш расплывчато и неточно, как мелок.
Универсальный катридж
История знаменитой ручки для NASA, способной писать в невесомости началась задолго до космической эры. Пол Фишер — будущий знаменитый изобретатель «космической ручки» родился в 1913 году. В 1948 году в возрасте 35 лет он основал компанию Fisher Pen Company по производству (ну надоже!) перьевых ручек. Тогда на рынке США было бесчисленное множество производителей и не было единого стандарта производства, а компоненты ручек не были взаимозаменяемыми.
Спустя 5 лет Фишер патентует «Универсальный катридж для заправки», который подходит для большинства фирменных ручек того времени. Для каждой перьевой ручки до этого необходимо было иметь пару специальных насадок и несколько цветов чернил.
ASA и карандаши
Американцы использовали механические карандаши, позволяющие рисовать тонкие линии. В 1965 году NASA заказало 34 механических карандаша производства Tycam Engineering Manufacturing, Inc. в Хьюстоне. Они заплатили 4382,5 доллара за партию (или по 128,89 долларов за карандаш). Когда эти цены стали общедоступными, разразился скандал, а NASA попыталось найти что–то дешевое для космонавтов.
Проблема была еще и в том, что случайно отколовшийся кусочек грифеля – это чистый графит, который можно ненароком вдохнуть, а хуже всего: он прекрасно проводит электричество и может привести к короткому замыканию на корабле.
Тот самый патент
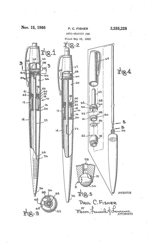
И вот уже 16 мая 1965 года Фишер заявляет свой патент US3285228 A на «антигравитационную ручку». Согласно патентной заявке, «Данное изобретение в целом относится к шариковым ручкам под давлением; более конкретно – к шариковым ручкам, которые могут использоваться с шаровой точкой в повышенном положении относительно подачи чернил».
Он также указывал, что до того времени не было создано коммерчески успешной шариковой ручки под давлением. Сложность состояла еще и в том, чтобы при письме, чернила поступали равномерно, а не выдавливались, как из водяного пистолета.
Что умеет космическая ручка?
Учитывая все бюрократические процедуры, герметичный картридж Fisher Space Pen® для оригинальной ручки AG7 Anti–Gravity Pen увидел свет только в 1966 году. По заверениям производителя ручкой можно писать, находясь вверх ногами, в невесомости, при температуре от –45 °C до +200 °C, и даже под водой.
В ручке Фишера для работы в отсутствие силы тяжести чернила залиты в картридж, заполненный азотом под давлением 2,5 атм. Это давление подает чернила к кончику ручки, где находится шарик из карбида вольфрама. Сами чернила похожи на плотный гель, они не окисляются и не высыхают.
Первый полет
Почти сразу после получения патента, Фишер предлагает свое изобретение в NASA, которое после 18 месяцев тщательного тестирования решает закупить партию ручек для миссии Apollo 7 в 1968 году.
12 апреля 1981 года космический корабль «Columbia» (STS–1) успешно выходит на околоземную орбиту с ручкой Fisher CH4 — Chrome Plated на борту. С тех пор ручка – необходимый атрибут каждой пилотируемой космической миссии американцев.
При чем тут СССР?
В 1967 году Советский Союз заказал 100 ручек и 1000 чернильных картриджей для использования в космических полетах «Союз», сообщает United Press International.
Associated Press позже отметил, что и NASA, и советское космическое агентство получили ту же 40–процентную скидку на покупку своих ручек оптом. И СССР, и NASA заплатили 2,39 доллара за ручку вместо $3,98.
Как русские космонавты ручку прямо со станции «Мир» продавали
История карандашей и смекалки так просто не закончилась. В 1998 году космонавты на российской космической станции «Мир» приняли участие в прямом эфире, выступая в качестве ведущих для американского канала домашних покупок QVS (а–ля магазин на диване).
Видео трансляции найти не удалось, есть только это фото (простите за качество).
Это дает совершенно новое значение фразе «рекламное пространство» (тут игра слов: Space – это и космос, и просто помещение, и пространство для чего либо). Зрители наблюдали, как космонавты демонстрируют ручку, предназначенную для работы в условиях невесомости, продают образцы метеорита и предлагают купить космический костюм за 25 000 долларов.
Прямая связь с каналом QVC была частью усилий российской космической программы, чтобы дополнить свой доход деньгами из коммерческих источников. В телевизионной сети QVC обычно преобладают рекламные объявления для дешевых ювелирных изделий и бытовых гаджетов.
Тогда же глава российской космической программы заявлял, что космическая станция теперь будет регулярно использоваться для рекламы. В 1998 году планировалось, что станция «Мир» еще может быть спасена «путем сотрудничества с лучшими традициями американского капитализма».
P.s.: «Мир» решили затопить через 3 года – в 2001 году. И насколько мне известно, подобной «рекламы» на станции больше не было.
История и пропаганда
Вспоминая анекдот из начала поста: не миллион, а 3,5 доллара, не NASA, а частная компания, не изобрели, а купили... Читайте не новости, а оригинальные тексты. Есть масса поводов гордиться достижениями родной страны, как говорится: "Было бы желание, а повод найдется". Но иногда достаточно попробовать изучить вопрос чуть глубже, и выяснится, что все не так однозначно.
Ах, да. «Космические ручки» можно купить в розницу и сейчас по цене от 45 до 700 долларов.
Источник: https://leprosorium.ru/comments/2261816/











