Нормативы на световые приборы при прохождении ТехОсмотра1
Не скрою что раньше проходил техосмотр как и большинство. Разделяя дань для силовых структур и исправность автомобиля. В этом году требовальщики дани решили ещё и покуражится над населением при этом и заменить безопасность на всяческие странные требования. Вот потихоньку изучаю нормативы.
Вопрос по допустимой яркости зоне засветки встречного водителя.
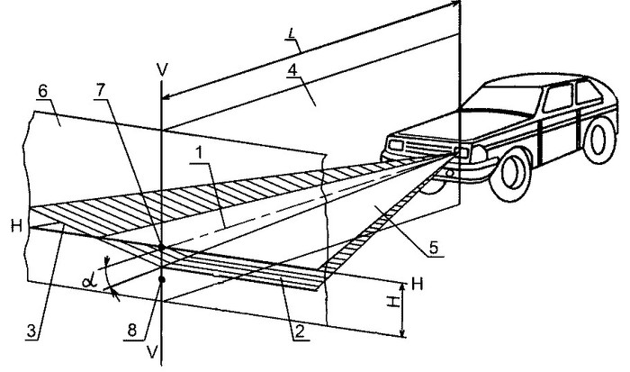
"3.8.6. Сила света каждой из фар в режиме "ближний свет", измеренная в вертикальной плоскости, проходящей через ось отсчета, должна быть не более 750 кд в направлении 34' вверх от положения левой части светотеневой границы"
Но на схеме точно не указано, где же оную величина должна замерятся.
1. Если норматив должен быть обеспечен на оси V на стенде для светового потока в 750 кандел получается что оный техрегламент допускает светить прямо в глаза встречноговодителя как диодный прожектор мощностью 0.5-1кВт.
2. Если норматив должен быть обеспечен непосредстенно на фаре, то всё что выше границы это 7.5 люкс. И честно это освещенность не сможет обеспечить ни одна фара, ну разве что с завода, и без предварительной проверки омывателя, потому что даже на идеальном заводском пластике но с водяной пленкой рассеяние точно даст больше 7 люкс, а уж тем более после пары и более лет эксплуатации там ясно будет больше у всех абсолютно.
Соответственно вопрос - это вариант 1 и на яркость реально забить, также как разработчики регламента реально забили на безопасность, или это вариант 2 все аппараты на сервисах реально разрегулированны вверх, чтобы не выносить мозг ни себе, ни клиентам ?
