Какими были аудиосистемы в советских автобусах (часть 1/4)
Привет, Пикабу. Пока топовые юзера репостят репосты репостов баянов из ОК, я тихой сапой продолжу дело того самого "тёплого лампового" Пикабу, ну а вы, пожалуйста, не ленитесь, и оцените, заходит ли вам такое :) .
Коль уж в прошлый раз так хорошо зашёл пост про освещение в "автобусе детства" (ссыль, если что: Про свет в "луноходе" ), настало время замолвить пару слов за звук в 677-м (и я вовсе не о тех, набивших оскомину, бутылках).
Да, как и со светом, звук там почти никогда не работал (или был исправен, но не использовался), но, тем не менее, с завода он в этом автобусе был. В салоне были установлены сначала 6 широкополосных, динамиков 1ГД-18 (весьма неплохие по качеству звучания для того времени, кстати), интегрированных в световые короба:
После отказа от световых коробов и сокращения люминисцентных ламп вдвое, динамики переехали сначала на потолок салона в том же количестве:
А потом их количество тоже сократили (до четырёх) и переселили на бывшие трафаретницы "вход/выход" над дверьми:
В таком виде, собственно, большинство из тех, кто катался на этом пепелаце, их и застали.
Ну а теперь поговорим за "сердце" этой системы - аудиоусилитель. Было их несколько моделей (а точнее - 4, на фото - синзу вверх по годам выпуска):
АГУ-10-3 (на германии), АГУ-10-4 (на германии), АГУ-10-4 (на кремнии) и ТГУ (на кремнии)
Располагался девайс на приборной панели в кабине водителя:
Поскольку уместить рассказ про все 4 модели усилителей в один пост крайне сложно, начнём рассказ с модели АГУ-10-4 на кремнии. Кстати, оцените юмор авторов девайса в названии :) Почему с него? Ну, потому что он в моей коллекции самый печальный. Прям максимально печальный:
Ну, ничего страшного, и не такое восстанавливали. Поехали!
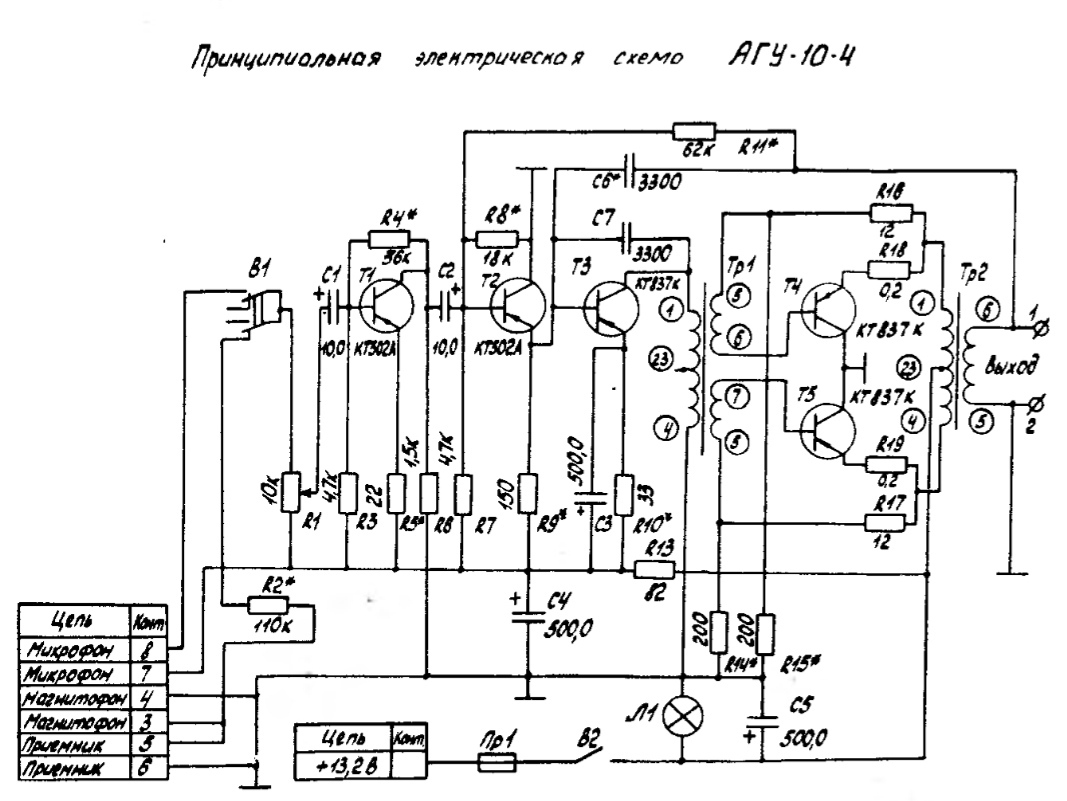
Первое, что надо сделать при ремонте - это достать схему устройства. Вот она:
Ничего особо уникального в ней нет: селектор источника звука (микрофон/линейный вход), 3 каскада класса А (транзисторы Т1, Т2, Т3), и 4-й, выходной, каскад класса АБ (транзисторы Т4, Т5). Из необычного (для более современной техники) - только пара разделительных трансформаторов в цепи выходного каскада, эдакое наследие ламповой техники.
Восстановление начнём с того, что демонтируем все элементы с платы, отмоем её и зачистим окислы на медных дорожках:
Родные эллементы постараемся по максимуму спасти, поэтому займёмся зачисткой их выводов:
Транзистор Т2, увы, превратился в кусок пластика, а у Т3-Т5 поплыли характеристики. Меняем их и собираем всё по схеме назад (электролиты, естественно, тоже все под замену):
Теперь займёмся трансформаторами, ибо они тоже все сгнили. Разберём, зачистим и перелакируем заново все пластины сердечника, перемотаем обмотки на заново напечатанные на 3D принтере каркасы и соберём всё взад:
И, о чудо, куча хлама ожила :)
Кроме восстановления работоспособности я его несколько модифицировал:
1) уменьшил номиналы конденсаторов C6 и C7 до 1,5 нф, чтобы немного уменьшить безжалостный срез ВЧ составляющей звука
2) уменьшил номиналы R16, R17 до 10 ом, чтобы уменьшить ток покоя выходного каскада (был аж около 500мА).
Такая вот "балалайка" стала снова в строй. Кстати, весьма злая: выходная мощность 10Вт :)
Более подробно процесс ремонта можно посмотреть на видео:
https://dzen.ru/video/watch/62f9ff5abf82ae1c60b31e38
Пикабу познавательный :)














