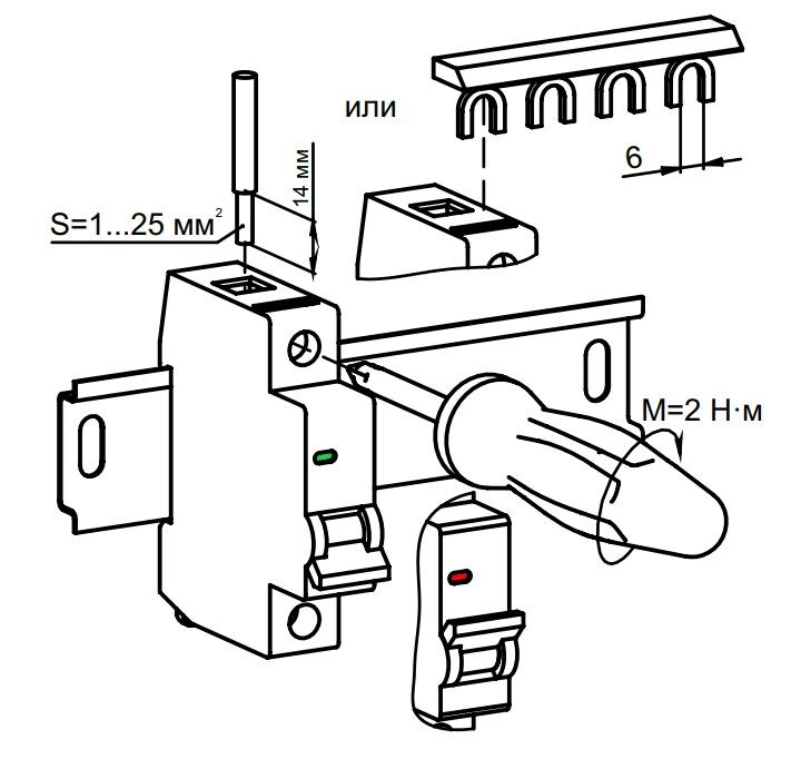
Правильно подключаем PIN гребёнку к автоматам
В электрощитах часто используется схема, когда после одного ВДТ (УЗО) фазный провод идёт на несколько автоматов. Что делать, подключать перемычками с наконечниками? Долго, трудоемко, и часто неэстетично. Поэтому прекрасный выход – гребенчатая PIN шина (так называемая «гребёнка»). Многие мастера это знают.
Но не многие знают, что такую шину нельзя подключать обычным проводом, даже с наконечником. Прямого запрета, конечно, нет, но подключение будет «кривым» во всех смыслах, поскольку наконечник будет изгибаться и подламываться.
Можно, конечно, срезать колпачок (юбку) НШВИ, но это не наш метод.
Чтоб всё было правильно и красиво, профи используют специально изогнутую вводную клемму для PIN шин.
Как правильно и как неправильно – на фото.
UPD. Дополнение про вилочную шину FORK
Большинство модульных автоматических выключателей, которые сейчас выпускает промышленность имеют возможность соединения шиной FORK. Это неплохой вариант.
При соединении автоматических выключателей этой шиной контактное гнездо остаётся полностью свободным для подключения проводников с любым типом наконечника.





Блог электрика
475 постов864 подписчика
Правила сообщества
Приветствуются любые посты и вопросы по теме электрики (даже глупые!).
За оскорбление Авторов и Участников Сообщества - бан.