Видеонаблюдение. Polyvision. НЕ РАБОТАЕТ как надо
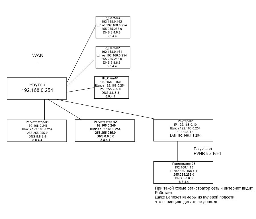
на работе 3 рега и два десятка камер. все Polyvision. Основной роутер с IP 192.168.0.254. Так сложилось. Все камеры и реги в одной подсети 192.168.0.XXX.
Купил еще один рег PVNR-85-16F1. Стал настраивать не видит сеть и все. настройки такие же как на других регистраторах один в один кроме IP.
Удалось запустить отправив новый рег в другую подсеть 192.168.1.ХХХ с помощью второго роутера.
Что за хрень и почему рег цепляет камеры из нулевой подсети?... Техпод пожимает плечами.
оно конечно типа работает, но не так как надо. Подскажите мож кто сталкивался? как запустить рег со шлюзом 192.168.0.254?

