ТрудоВЫЕБУДНИ
Не всегда всё идёт по плану, иногда случаются разные форс мажоры, связанные с разными причинами, вот например один из них.
Концерт в Саратове.
В 8 утра должна была приехать фура на площадку. Мы на готове, т.к. приехали раньше, ждём.
8.30 фуры нет
9.00 фуры все ещё нет
Мы начали беспокоиться, звоним водителю, а, он, как оказалось, думал, что должен приехать в 20.00 и ещё не выехал из Самары (предыдущего города в туре), только вот в 19.00 у нас уже начало концерта, а в 14.00 приходят техники группы.
Фурист, конечно, мигом выезжает в нашу сторону, а мы уже строим план, как в восьмером соберем все за пару часов.
14.00, фура подъезжает к площадке, впереди еще одно испытание, провести ее по узкому двору заставленному машинами, но с этим справились довольно быстро (ниже прикрепим видео того, как мы выгоняли фуру обратно ночью для понимания).
Организаторов мы заранее предупредили, что готовность площадки будет не раньше 16 часов. У нас остаётся 2 часа на то, чтобы выгрузить фуру и собрать весь сетап. Все делали всё, часть звукачей собирала массив, часть вешала свет, чтобы фермы быстрее взлетели и освободили сцену, все вместе собирали железо и помогали со сбором ферм и лебедок, световики помогали собирать бэклайн.
16.00 приходят техники, осталось доделать по мелочи, кулисы, мониторка.
16.30 все готово.
Это было самый быстрый сбор и самая дружная командная работа.
Знаем, что так можно, но повторять не хотелось бы)
Фото к истории отношения не имеют, просто рандом из коллекции автора)
А вот на каком концерте группы это произошло, можно узнать в нашем тг-канале.
Обозначая путь к спасению
ПАТЕНТОБЛАДАТЕЛЬ:
Федеральное государственное казенное военное образовательное учреждение высшего образования "Военный учебно-научный центр Военно-Морского Флота "Военно-морская академия имени Адмирала Флота Советского Союза Н.Г. Кузнецова"
ДЛЯ ЧЕГО:
для обозначения направления движения или подсветки систем и механизмов в условиях ограниченной видимости или в полной темноте при отсутствии других средств освещения
ИННОВАЦИЯ:
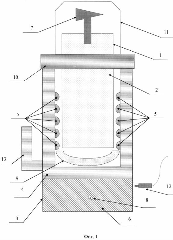
Основной характеристикой люминесцентных указателей, предназначенных для обеспечения безопасного выхода людей из аварийных зон, является длительность послесвечения и четкость отображаемой информации. Они должны быть хорошо видны в темноте и, например, в условиях задымления. Данное изобретение помогает решить эту задачу.
Предложенное устройство содержит прозрачный баллон, заполненный светящейся краской на основе светогенерирующего материала, что позволяет использовать его в качестве стационарного источника освещения. Для обеспечения процесса светонакопления баллон освещается светодиодами, расположенными внутри устройства, питающимися от сети, что позволяет светящейся краске длительное время накапливать светимость (процесс зарядки). Входящий в состав устройства параболический зеркальный отражатель усиливает световой поток светодиодов. В устройстве предусмотрен дозатор-распылитель для распыления краски для обозначения пути и направления движения. Наличие аккумуляторной батареи позволяет использовать устройство как переносной светильник для освещения пути по ходу движения или как дополнительный источник освещения (стационарный фонарь).
Изобретение будет способствовать спасанию людей из опасных зон в условиях ограниченной видимости или в полной темноте, указывая им направление движения в течение длительного времени, а также обеспечит возможность одновременного освещения и обозначения необходимых объектов.
СФЕРА ПРИМЕНЕНИЯ:
светотехника, осветительные устройства, для эвакуации людей из опасных зон
Капля света
Уютный светильник-ночник в виде ларька. Ссылка на него
Авторский светильник-панелька. Ссылка на него
Авторский светильник-панелька "Малыш". Ссылка на него
Как выбрать люстру потолочную?
Выбираете новую люстру? Это здорово! ✨ Люстры — настоящие украшения интерьера, которые создают уют и атмосферу в доме. Но среди множества вариантов легко запутаться. Давайте разберемся вместе!
Что такое люстра потолочная?
Люстра потолочная — это светильник, который крепится прямо к потолку. Она идеально подходит для комнат с невысокими потолками, потому что занимает минимум места и визуально делает помещение просторнее.
Почему стоит купить люстру потолочную?
Экономия пространства. Если у вас небольшая комната или низкие потолки, люстра потолочная — ваш лучший друг! Она не свисает вниз, как подвесная, и оставляет больше свободного места.
Универсальность. Такие люстры подходят практически к любому стилю интерьера: от классики до модерна. Главное — правильно подобрать дизайн.
Доступность. Можно найти модели на любой вкус и кошелек, включая недорогие варианты.
Легкость установки. Большинство моделей легко устанавливаются даже своими руками.
Какие бывают люстры потолочные?
Люстра светодиодная
Светодиоды — это будущее освещения! 😎 Они экономят энергию, долго служат и выделяют меньше тепла. Плюс такие лампы часто имеют разные режимы света: теплый, холодный, дневной. Идеально для тех, кто любит современные технологии.
Плюсы: энергосбережение, долговечность, разнообразие цветов.
Минусы: цена немного выше обычных лампочек.
Люстра подвесная
Подвесные люстры отличаются от потолочных тем, что висят на цепочке или шнуре. Они хороши для высоких потолков и создают эффект воздушности.
Плюсы: визуально увеличивают высоту комнаты, интересный дизайн.
Минусы: занимают много места, не подойдут для низких потолков.
Люстра хрустальная
Хрустальные люстры — классика жанра! ✨ Они переливаются на свету, создавая волшебную игру бликов. Отличный выбор для гостиной или столовой.
Плюсы: роскошный вид, добавляют интерьеру изысканности.
Минусы: высокая цена, требуют регулярного ухода (хрусталь нужно протирать).
Где лучше всего купить люстру потолочную?
Сейчас можно найти люстру потолочную на любой вкус и цвет! 😊 Многие магазины предлагают доставку прямо домой, так что вам не придется тратить время на походы по магазинам. Также не забываем про онлайн-магазины и маркетплейсы! И главное — вы можете сравнить цены и выбрать оптимальный вариант.
Хотите сэкономить? Обратите внимание на акции и распродажи. Иногда можно найти отличные предложения по цене ниже рыночной!
Заключение
Выбор люстры — дело вкуса и потребностей. Подумайте, какой стиль вам ближе, какие функции важны, и сколько вы готовы потратить. А если сомневаетесь, всегда можно проконсультироваться с дизайнером или специалистом по освещению.
Итак, вперед за покупками! Пусть ваша новая люстра станет настоящим украшением дома! 🏠✨












