Горячее
Лучшее
Свежее
Подписки
Сообщества
Блоги
Эксперты
Войти
Забыли пароль?
или продолжите с
Создать аккаунт
Регистрируясь, я даю согласие на обработку данных и условия почтовых рассылок.
или
Восстановление пароля
Восстановление пароля
Получить код в Telegram
Войти с Яндекс ID Войти через VK ID
ПромокодыРаботаКурсыРекламаИгрыПополнение Steam
Пикабу Игры +1000 бесплатных онлайн игр Собирайте цепочки из трех и более одинаковых фишек, чтобы восстановить величие школы волшебников! Волшебство и захватывающие приключения ждут вас уже с первых шагов!

Волшебный особняк

Казуальные, Три в ряд, Головоломки

Играть

Топ прошлой недели

  • Oskanov Oskanov 9 постов
  • Animalrescueed Animalrescueed 46 постов
  • AlexKud AlexKud 33 поста
Посмотреть весь топ

Лучшие посты недели

Рассылка Пикабу: отправляем самые рейтинговые материалы за 7 дней 🔥

Нажимая «Подписаться», я даю согласие на обработку данных и условия почтовых рассылок.

Спасибо, что подписались!
Пожалуйста, проверьте почту 😊

Помощь Кодекс Пикабу Команда Пикабу Моб. приложение
Правила соцсети О рекомендациях О компании
Промокоды Биг Гик Промокоды Lamoda Промокоды МВидео Промокоды Яндекс Маркет Промокоды Отелло Промокоды Aroma Butik Промокоды Яндекс Путешествия Постила Футбол сегодня
0 просмотренных постов скрыто
743
Quadro.FX
Quadro.FX
2 года назад
Авиация и Техника

Новые Су-57 переданы заказчику - ВКС РФ⁠⁠

Комсомольский-на-Амуре авиационный завод им. Ю.А. Гагарина Объединенной авиастроительной корпорации (ПАО «ОАК» входит в Госкорпорацию Ростех) изготовил и передал Минобороны России очередную партию серийных самолетов пятого поколения Су-57 в рамках программы поставок текущего года.

«Наш авиазавод в Комсомольске-на-Амуре выполнил программу текущего года по производству авиационных комплексов пятого поколения Су-57 и многоцелевых истребителей Су-35С для российских ВКС. Мы продолжим выполнять наши обязательства. Самолёты, запланированные к поставкам в следующем году уже находятся в производстве», — заявил генеральный директор ПАО «ОАК» Юрий Слюсарь.

https://uacrussia.ru/ru/press-center/news/news_the_only/oak-peredala-minoborony-ocherednuyu-partiyu-seriynykh-samolyetov-pyatogo-pokoleniya-su-57

От автора: По слухам передали четыре новые машины, хотя на официальных фото и видео не появляется одновременно больше двух. Четвёрку Су-57 засняли на видео сегодня в небе над Новосибирском - перевалочным пунктом между Комсомольском-на-Амуре и европейской частью России.

UPD: Четыре борта, споттеры подтверждают )

https://vk.com/nskplanes

Итого это 7, 8, 9 и 10 по счёту серийные машины.

Предыдущая передача Су-57 в войска: Ещё два новых Су-57 отправлены в войска

Показать полностью 3 2
Авиация Военная авиация Военная техника ВВС Россия Вооруженные силы Истребитель Пятое поколение Су-57 Пак ФА Армия ВКС Видео YouTube Длиннопост
304
607
Quadro.FX
Quadro.FX
3 года назад
Авиация и Техника

Ещё два новых Су-57 отправлены в войска⁠⁠

В Новосибирске замечены два новых Су-57: б.н. 53 и 54 красные. Ранее в этом году были переданы два борта: б.н. 52 и 02 красные Пополнение в ВВС РФ


Итого поставлено пять или шесть серийных машин:


#01 синий и #02 красный, #52, 53, 54 красные, #52 синий(?)


*(б.н. - бортовой номер)

спасибо NskPlanes за отличные фото

Показать полностью 8
Авиация Военная авиация Военная техника ВВС Россия Вооруженные силы Истребитель Пятое поколение Су-57 Пак ФА Армия ВКС Толмачево Длиннопост
134
133
Quadro.FX
Quadro.FX
3 года назад
Авиация и Техника

Опубликован патент на лёгкий тактический истребитель Т-75⁠⁠

Давеча на сайте Федеральной Службы по Интеллектуальной Собственности был опубликован патент на ЛМФС/ЛФИ/ЛТС Т-75, он же "Checkmate"(коммерческое название)

Заявка: 2021121249, 19.07.2021


Дата начала отсчета срока действия патента: 19.07.2021


Дата регистрации: 23.03.2022


Дата подачи заявки: 19.07.2021


Опубликовано: 23.03.2022


Автор(ы):

Стрелец Михаил Юрьевич (RU),

Булатов Алексей Сергеевич (RU),

Ниженко Артем Алексеевич (RU),

Полякова Наталья Борисовна (RU),

Шокуров Алексей Кириллович (RU),

Минков Михаил Сергеевич (RU),

Тарасов Алексей Захарович (RU)

Патентообладатель(и):

Акционерное общество "Авиационная холдинговая компания "Сухой" (АО "Компания "Сухой") (RU)


ЛЕГКИЙ ТАКТИЧЕСКИЙ САМОЛЕТ


Реферат:

Изобретение относится к области авиации, в частности к легким тактическим самолетам, имеющим малую радиолокационную заметность. Легкий тактический самолет содержит фюзеляж с боковыми хвостовыми балками, консоли крыла, хвостовое оперение, воздухозаборник, силовую установку и реактивное сопло. Боковые хвостовые балки являются развитыми и заканчиваются поворотными на горизонтальной оси частями. На консолях крыльев, имеющих большую стреловидность, располагаются поворотные носки и внутренние и внешние элевоны. Хвостовое оперение выполнено V-образным, консоли которых являются цельноповоротными, выполняющими функцию как горизонтального, так и вертикального оперения. Воздухозаборник располагается в нижней части фюзеляжа и частично его охватывает с нижней стороны. Техническим результатом является повышение устойчивости и управляемости летательного аппарата без ухудшения характеристик радиолокационной заметности. 5 з.п. ф-лы, 3 ил.


Изобретение относится к области авиации, в частности к легким тактическим самолетам, имеющим малую радиолокационную заметность.

Из уровня техники известен сверхзвуковой конвертируемый самолет (см. патент RU 2432299 С2, опубликованный 27.10.2011), который содержит фюзеляж с нижним воздухозаборником и V-образное хвостовое оперение.


Однако, конструкция известного самолета обладает недостатком, заключающимся в недостаточной устойчивости и управляемости самолета, а также достаточно большой радиолокационной заметностью.

Из уровня техники также известен летательный аппарат Lockheed F-117А Nighthawk с малой радиолокационной заметностью, выполненного по схеме «бесхвостка с V-образным оперением» без горизонтального оперения. На крыле известного летательного аппарата имеются отклоняемые элевоны. Управление по тангажу и крену осуществляется элевонами, по рысканию - цельноповоротным вертикальным оперением.


Однако недостатком данного летательного аппарата является плохие взлетно-посадочные характеристики, а также недостаточная устойчивость и управляемость летательным аппаратом.

Задачей заявленного изобретения является устранение недостатков известных из уровня техники летательных аппаратов.

Таким образом, техническим результатом, на достижение которого направлено заявленное изобретение, является повышение устойчивости и управляемости летательного аппарата без ухудшения характеристик радиолокационной заметности.


Легкий тактический самолет содержит фюзеляж с боковыми хвостовыми балками, консоли крыла, хвостовое оперение, воздухозаборник, силовую установку и реактивное сопло. Боковые хвостовые балки являются развитыми и заканчиваются поворотными на горизонтальной оси частями. На консолях крыльев, имеющих большую стреловидность, располагаются поворотные носки и внутренние и внешние элевоны. Хвостовое оперение выполнено V-образным, консоли которого выполнены цельноповоротными, выполняющими функцию как горизонтального, так и вертикального оперения. Воздухозаборник располагается в нижней части фюзеляжа и частично его охватывает с нижней стороны.


Поворотное реактивное сопло располагается по оси симметрии фюзеляжа и используется для управления и балансировки в полете и выполнено отклоняемым в вертикальной плоскости.

Поворотное реактивное сопло располагается по оси симметрии фюзеляжа и используется для управления и балансировки в полете и выполнено всеракурсным.

Оси поворота консолей V-образного хвостового оперения расположены перпендикулярно оси фюзеляжа.

Оси поворота консолей V-образного хвостового оперения располагаются ближе к передней кромке консолей.

Все кромки воздухозаборника выполнены стреловидными.


Далее более подробно заявленное изобретение поясняется чертежами, на которых:

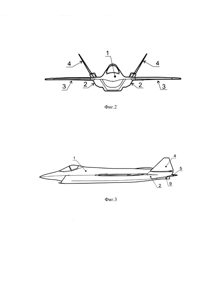
Фиг. 1 - заявленный летательный аппарат, вид сверху,

Фиг. 2 - заявленный летательный аппарат, вид спереди,

Фиг. 3 - заявленный летательный аппарат, вид сбоку.


Заявленный легкий тактический самолет содержит фюзеляж (1) с развитыми боковыми хвостовыми балками (2) и воздухозаборником (10) силовой установки, консоли крыла (3) и V-образное хвостовое оперение (4). Воздухозаборник (10) располагается в нижней части фюзеляжа (1) и частично его охватывает с нижней стороны (см. фиг. 2). Консоли крыла (3) выполнены большой стреловидности (40-55°) и имеют отклоняемые носки (6) крыла. На задней кромке консоли крыла (3) расположены внутренние (7) и внешние (8) элевоны. Боковые хвостовые балки (2) оканчиваются поворотными частями (5), которые выполняют функцию рулей высоты. V-образное хвостовое оперение (4) выполнено цельноповоротным одновременно играет роль горизонтального и вертикального оперения, и обеспечивает возможность управления самолетом в продольном канале при синфазном отклонении и в поперечном канале при дифференциальном отклонении, а также обеспечивает устойчивость и управляемость в путевом канале на всех скоростях полета и обеспечивает функцию воздушного торможения. Путевая устойчивость на сверхзвуковых скоростях полета при недостаточной статической устойчивости обеспечивается искусственно, благодаря отклонению консолей V-образное хвостовое оперение (4). При возникновении возмущения атмосферы или порыва ветра в путевом канале осуществляется синфазное отклонение консолей V-образное хвостового оперения (4) в сторону парирования возмущения. Такое решение позволяет уменьшить площадь оперения, уменьшив тем самым массу и сопротивление оперения и самолета в целом. Управление в путевом канале осуществляется при синфазном отклонении V-образного хвостового оперения (4), а воздушное торможение - при дифференциальном отклонении V-образного хвостового оперения (4).


Оси поворота консолей V-образного хвостового оперения расположены перпендикулярно оси фюзеляжа и располагаются ближе к передней кромке каждой консоли.

Механизация крыла (3) применяется для обеспечения управления в каналах тангажа и крена, для увеличения подъемной силы. Поворотный носок (6) крыла применяется для увеличения критического угла атаки и обеспечения безударного обтекания крыла (3), для полета «по огибающей поляре» на режимах взлета, посадки, маневрирования и крейсерского дозвукового полета. Элевоны (7, 8) предназначены для управления самолетом по тангажу синфазным отклонением вверх-вниз, увеличения подъемной силы при синфазном отклонении вниз на различных режимах за счет увеличения кривизны срединной поверхности крыла, управления по крену при дифференциальном отклонении. При обеспечении функции воздушного торможения элевоны (7, 8) отклоняются совместно с другими органами таким образом, чтобы обеспечить увеличение аэродинамического сопротивления при нулевом приращении суммарного момента тангажа.


Поворотные части (5) боковых хвостовых балок при отклонении вверх-вниз используется для управления по тангажу, выполняя функции руля высоты, на взлетно-посадочных режимах служат для компенсации пикирующего момента, возникающего при отклонении элевонов (7, 8) для увеличения подъемной силы крыла. При обеспечении функции воздушного торможения поворотные части 5 отклоняются совместно с другими органами, обеспечивая увеличение сопротивления и нулевое приращение суммарного момента тангажа.

Выполнение всех кромок воздухозаборника стреловидными обеспечивает снижение уровня радиолокационной заметности летательного аппарата.

Поворотное реактивное сопло (9) двигателя самолета располагается по оси симметрии фюзеляжа и используется для управления и балансировки в полете, может быть выполненным как отклоняемым только вверх - вниз в вертикальной плоскости, так и всеракурсным.

Все имеющиеся органы управления (V-образное хвостовое оперение, носки крыла, элевоны, поворотные части балки) при одновременном отклонении увеличивают аэродинамическое сопротивление, тем самым выполняя функцию тормозных щитков.

Наличие всех приведенных элементов управления в конструкции летательного аппарата совместно позволяют отодвинуть зоны возникновения небалансируемой статической неустойчивости летательного аппарата в продольном и путевом каналах управления в диапазон углов атаки 15° и более, повысить несущие свойства и снизить сопротивление данной аэродинамической компоновки летательного аппарата, что подтверждается расчетами и испытаниями модели в аэродинамических трубах, и позволяют иметь эксплуатационные углы атаки, уровень аэродинамического качества, обеспечивающие существенное улучшение крейсерских, маневренных и взлетно-посадочных характеристик по сравнению с известными аналогами.


Приведенная компоновка легкого тактического самолета за счет заявленной конструкции обеспечивает максимальную управляемость летательным аппаратом в любых режимах полета и при этом не увеличивает радиолокационную заметность летательного аппарата.


Формула изобретения

1. Легкий тактический самолет, содержащий фюзеляж с боковыми хвостовыми балками, консоли крыла, хвостовое оперение, воздухозаборник, силовую установку и поворотное реактивное сопло, отличающийся тем, что боковые хвостовые балки являются развитыми и заканчиваются поворотными на горизонтальной оси частями, на консолях крыльев, имеющих большую стреловидность, располагаются поворотные носки и внутренние и внешние элевоны, а хвостовое оперение выполнено V-образным, консоли которого выполнены цельноповоротными, выполняющими функцию как горизонтального, так и вертикального оперения, причем воздухозаборник располагается в нижней части фюзеляжа и частично его охватывает с нижней стороны.

2. Легкий тактический самолет по п.1, отличающийся тем, что поворотное реактивное сопло располагается по оси симметрии фюзеляжа и используется для управления и балансировки в полете и выполнено отклоняемым в вертикальной плоскости.

3. Легкий тактический самолет по п.1, отличающийся тем, что поворотное реактивное сопло располагается по оси симметрии фюзеляжа и используется для управления и балансировки в полете и выполнено всеракурсным.

4. Легкий тактический самолет по п.1, отличающийся тем, что ось поворота консолей V-образного хвостового оперения расположена перпендикулярно оси фюзеляжа.

5. Легкий тактический самолет по п.4, отличающийся тем, что ось поворота консолей V-образного хвостового оперения располагается ближе к передней кромке консолей.

6. Легкий тактический самолет по п.1, отличающийся тем, что все кромки воздухозаборника выполнены стреловидными.


https://new.fips.ru

Для сравнения чертежи Александра Пачкова aka paralay:

http://paralay.iboards.ru/

Показать полностью 3
Авиация Ростех Оак Истребитель Пятое поколение Су-75 Checkmate Патент Россия Военная авиация Стелс Длиннопост
71
365
Quadro.FX
Quadro.FX
3 года назад
Авиация и Техника

Пополнение в ВВС РФ⁠⁠

ВВС РФ и МА ВМФ РФ пополнились новыми истребителями:


+2 Су-57

+4 Су-30СМ2 (Первые Су-30СМ2 поставлены в войска)

Снято в аэропорту "Толмачёво", Новосибирск


https://vk.com/nskplanes

@Sega720


PS: Су-57, возможно, поставлено 3 штуки, ибо ранее, на днях, засветилась машина с бортовым номером 52 "синий"

Показать полностью 13
Авиация Военная авиация Военная техника ВВС Россия Вооруженные силы Истребитель Пятое поколение Су-57 Пак ФА Су-30см Армия Новосибирск Толмачево Длиннопост
235
6
mudvin77
3 года назад

Новогоднее от F22⁠⁠

В кабине F22 - майор Джош «Кабо» Гундерсон (Josh "Cabo" Gunderson). Сброс инфракрасных ловушек - для пущего восторга публики.

Ранее было другое видео с ним

F-22 Raptor. Высший пилотаж


Показать полностью
Авиация F-22 Raptor Высший Пилотаж ВВС Пятое поколение Видео
5
DELETED
3 года назад

Northrop Grumman показала убийцу ПВО и самолетов 5 поколения⁠⁠

Вооружение Оружие Авиация Самолет Пятое поколение Northrop Grumman Видео
14
285
Defua
Defua
4 года назад
Авиация и Техника

Младший брат и старший⁠⁠

Два российских истребителя 5-го поколения. Коллаж парней с Паралая. Однодвигательный Лёгкий тактический самолёт (ЛТС) «Checkmate» и уже идущий в войска су-57

Младший брат и старший
Авиация ВКС Пятое поколение
249
95
Quadro.FX
Quadro.FX
4 года назад
Авиация и Техника

Новые фотографии ЛМФС/ЛФИ/ЛТС Т-75 КБ "Сухого" за час до презентации⁠⁠

Предыдущие посты по теме:


ЛМФС/ЛФИ/ЛТС Т-75 КБ "Сухого": новые фото

Гульчатай открыла личико


***

Презентацию вновь перенесли, на этот раз она должна начаться в 19:45 МСК. Ну а пока - свежие фотографии и видео в великолепном качестве


***


У России уже есть якорный заказчик на новый легкий истребитель "Checkmate"


РФ имеет якорного заказчика на новый легкий истребитель Checkmate, который был представлен во вторник президенту РФ Владимиру Путину, сообщил вице-премьер Юрий Борисов. Об этом пишет Интерфакс.

"Уже есть, для него и делаем", - сказал Борисов на авиасалоне МАКС-2021. Он пояснил, что речь идет об иностранных ВВС.

Кроме того, глава "Ростеха" Сергей Чемезов заявил, что заказчиком нового истребителя также станет Минобороны РФ.

"Да, конечно", - сказал он, отвечая на соответствующий вопрос.

Он подчеркнул, что это инициативная разработка "Ростеха", однако в госкорпорации предусматривают поставки не только иностранным, но и российским военным.


Первый полет легкого однодвигательного истребителя 5-го поколения ожидается в 2023 году. "2023 год - первый полет ЛТС, 2024-2025 годы - постройка опытных образцов, 2026 год - запуск установочной партии", - отмечается в презентации.

Chekmate сможет разгоняться до двух скоростей звука, масса боевой нагрузки истребителя составит 7400 кг, дальность полета истребителя - 3 тыс. км. "Размещение в отсеках вооружения современных средств поражения", - сказано в презентации.


https://www.aex.ru/news/2021/7/20/232203/

фотографии: Reuters


http://paralay.iboards.ru

Показать полностью 3 1
Авиация Ростех Истребитель МАКС (авиасалон) Пятое поколение Видео Длиннопост
46
Посты не найдены
О нас
О Пикабу Контакты Реклама Сообщить об ошибке Сообщить о нарушении законодательства Отзывы и предложения Новости Пикабу Мобильное приложение RSS
Информация
Помощь Кодекс Пикабу Команда Пикабу Конфиденциальность Правила соцсети О рекомендациях О компании
Наши проекты
Блоги Работа Промокоды Игры Курсы
Партнёры
Промокоды Биг Гик Промокоды Lamoda Промокоды Мвидео Промокоды Яндекс Маркет Промокоды Отелло Промокоды Aroma Butik Промокоды Яндекс Путешествия Постила Футбол сегодня
На информационном ресурсе Pikabu.ru применяются рекомендательные технологии