Монорельс из китайского города Чунцин - Science Box
В китайском городе Чунцин очень плотная застройка, при строительстве монорельса на пути встал 19-этажный жилой дом, который невозможно было снести или обойти.
Проектировщики приняли экстремальное решение: построить железную дорогу прямо сквозь здание, между 7 и 8 этажами.
Больше интересных вещей в Инстаграм сообществе - https://instagram.com/scienceboxx?igshid=e16hyc667u30
Почему поезд на воздушной подушке Aerotrain проиграл конкуренцию скоростному поезду TGV и сможет ли Hyperloop не повторить этих ошибок?
В середине 60-х годов прошлого века во Франции началась реализация проекта по созданию высокоскоростного аэропоезда. Многим тогда казалось, что это тот самый новый супертранспорт, который сможет конкурировать с самолетами.
Идея поставить на крышу железнодорожного локомотива авиационный двигатель кажется простой, очевидной и гениальной. Тогда можно двигаться почти со скоростью самолета, но по земле.
Все было в пользу этой прорывной идеи: удобство, скорость и безопасность для пассажиров, да и инженерам создать такой поезд стало технологически возможным.
Интересно, что и раньше уже предпринимались попытки внедрить подобную технологию. Но все они не продвинулись дальше экспериментальных прототипов или масштабных моделей.
Возможно, первым был аэровагон инженера Абаковского, созданный и испытанный в 1921 году. Аэровагон представлял собой дрезину, снабжённую мотором от самолёта и двухлопастным винтом. Он мог развивать скорость до 140 километров в час, правда, издавая страшный грохот. Пробный вариант аэровагона проходил испытания и наездил около трёх тысяч километров пробега. Но после катастрофы, в результате которой из 22-ух пассажиров погиб сам конструктор и еще шесть человек, проект закрыли.
Следующая попытка была предпринята через 8 лет в Германии. Проект назывался «рельсовый дирижабль» потому, что представлял из себя вагон, по внешнему виду напоминающий дирижабль Zeppelin. Он был спроектирован и построен немецким авиастроителем-инженером Францем Крюкенбергом. В задней части располагался толкающий винт: он разгонял вагон до 230,2 км/ч, что было рекордом скорости того времени для рельсового транспорта. Был построен один единственный экземпляр, который из соображений безопасности ни разу в рейс не выходил и был окончательно разобран в 1939 году.
В 1933 году советские конструкторы спроектировали самую продвинутую на тот момент версию аэропоезда. Инженер Севастьяна Вальднера использовал авиадвигатель и пустил аэропоезд по монорельсу. Прототип был сконструирован в виде уменьшенной в 10 раз модели.
Потом события развивались также быстро, как должен был бы передвигаться аэропоезд: в 1934 году в подмосковном Бутове строится испытательный полигон длинной 8 км уже для поезда в натуральную величину; в 1935 году начинается подготовка трассы опытного кольца эстакады Ташауз – Чарджоу (ныне Дашогуз - Туркменабат), а в 1936 году по приказу Наркомата путей сообщения НКПС “Бюро аэропоезда Вальднера” неожиданно ликвидируют.
После этого, более двух десятилетий европейцам, да и всему миру, было не до совершенствования технологий пассажирских перевозок. Вторая мировая война и послевоенное восстановление требовали усилий в иных направлениях.
И вот в начале 60-х годов французский Aérotrain стал первым проектом, который получил одобрение со стороны первых лиц государства и правительственную поддержку и, как следствие, возможность довести идею до реальных пассажирских перевозок.
Инициатором проекта стал талантливый инженер Жан Бертен.
Он начинал работать в аэрокосмической компании Snecma, а с 1955 года самостоятельно занимался разработкой скоростных катеров аэроглиссеров.
Когда в начале 1960-х, французское правительство объявило конкурс на разработку скоростных железнодорожных путей, Жан Бертен решил, что принцип аэроглиссера было бы эффективно применить на железной дороге.
Бертен, конечно, знал о предыдущих попытках создания аэропоезда и причинах их неудач. Но он верил в успех.
Первую модель в масштабе 1/12 и длиной 1,4 метра Жан Бертен представил государственным властям и Национальной компании французских железных дорог SNCF уже в 1963 году.
Демонстрация воодушевила заказчиков и 15 апреля 1965 г. была учреждена компания по изучению аэродинамического состава Société d'étude de l'Aérotrain, которая уже к концу года (16 декабря 1965 г.) создала первый прототип Aérotrain 01 .
Параллельно концепции Бертена начал развиваться конкурирующий проект TGV , который был ориентирован на разработку скоростного поезда, передвигающегося по традиционным железнодорожным путям.
А уже в начале следующего года для Aérotrain 01 была открыта тестовая трасса длиной 6,7 км, на которой 21 февраля 1966 г. на глазах у прессы поезд разогнался до 100 км/ч. Через несколько дней он достиг 200 км/ч.
Это был успех. Но Бертену этого было мало. Он решил, что если вместо винтового двигателя установить на поезде реактивную турбину, то будет еще круче. Так и получилось, в декабре 66-го года Aérotrain 01 с реактивным двигателем в 1700 лошадиных сил развивает скорость 303 км/ч.
А еще через год 345 км/ч.
В том же году компания Бертена сконструировала двухместный Aérotrain 02, который в мае 1967 года разогнался на испытательном треке до 300 км/ч, а после того как и его оснастили реактивной турбиной Pratt & Whitney JT12 он достиг рекордной скорости 422 км/ч. Это произошло в конце января 1969 года.
Этот достижение позволило добиться начала строительства экспериментального 18-километрового пути между Руаном, к северу от Артене, и Сараном (Орлеан) на Луаре.
Но главная задача состояла не в простом достижении рекордных скоростей – на кону было создание скоростной версии пассажирского аэропоезда.
В июле 1969 года Aérotrain I80 был представлен публике, а уже в сентябре на испытаниях он развил скорость 250 км/ч. Это конечно было меньше, чем рекорды экспериментальных моделей, но это уже был реальный поезд, способный перевозить десятки пассажиров - в ноябре он проехал всю 18-километровую линию с полной загрузкой. Среди пассажиров было много журналистов и высокопоставленных лиц, в том числе министр транспорта.
Бертен задумался над созданием уменьшенной версии поезда. Аэропоезд на 44 пассажира под названием Aérotrain S44, проходил испытания с декабря 1969 года по январь 1972 года и в итоге достиг скорости 170 км/ч.
Прогресс был настолько стремительным, что концепцией заинтересовались за океаном. В 1970 году компания Rohr Industries начинает строительство в США прототипа под названием UTACV, конструкция которого разрабатывалась на основе на Aérotrain Бертена.
В это время сам Бертен занимался модернизацией своего Aérotrain I80. В марте 1974 году усовершенствованный Aérotrain I80 HV побил рекорд наземной скорости для рельсовых транспортных средств на воздушной подушке - 430,4 км/ч.
И вот наконец 21 июня 1974 г. правительство Франции подписывает контракт на строительство коммерческой линии между Ля Дефанс и Сержи. Жан Бертен добился своего — это был день триумфа.
И вдруг, спустя всего 26 дней после подписания, 17 июля 1974 года правительство Франции отозвало контракт, расторгнув его в одностороннем порядке без объяснения причин.
Лежащая на поверхности версия о том, что Жан Бертен был протеже президента Франции Жоржа Помпиду, благодаря чему и продвигался проект Aérotrain, а ставший в мае 1975 года новым президентом Валери Жискар д’Эстен лоббировал интересы конкурирующего проекта TGV , объясняет случившееся лишь частично.
Вариант сети скоростных электропоездов, разработанный национальным французским железнодорожным оператором SNCF , реально имел существенные преимущества перед Aérotrain.
При том, что TGV могли развивать сопоставимую скорость, около 300 км/ч, эти поезда, во-первых, могли двигаться по обычным железнодорожным путям, то есть не требовали прокладки специальных высокотехнологичных и довольно затратных трасс, и, во-вторых, TGV это обычный в принципе поезд, который можно составлять из множества вагонов.
Очевидно, неудачное развитие проекта стало причиной преждевременной смерти Жана Бертена в декабре 1975 года, который просто потерял смысл в жизни. Еще через два года проект окончательно закрыли, ликвидировав компанию Société d'étude de l'Aérotrain.
А еще через четыре года, в 1981 году, заработал бывший конкурент, а теперь единственный игрок на этом рынке проект высокоскоростных поездов TGV .
Этот и предшествующие ему провалы, казалось бы, обозначили все слабые места транспортных технологий, которые требуют строительства дорогостоящих и сложных трасс отдельных от обычных путей, и которые к тому же имеют ограничения по пассажирской вместимости из-за невозможности сцеплять вместе вагоны. Вот уже четыре десятилетия никто даже не пытается снова всерьез вернуться к теме аэропоезда.
Но анонсированная в 2013 году Илоном Маском идея Hyperloop по сути является своего рода версией аэропоезда, даже более усложненной. Похожие аэродинамические принципы предложено реализовать в закрытой вакуумной трубе, что гораздо сложнее, чем просто открытый монорельс, сконструированный Бертеном. В Hyperloop все также нет возможности сцеплять вагоны в составы.
Что же поддерживает веру Маска и многих, подхвативших его идею энтузиастов, в возможность успеха?
Если проект Hyperloop достигнет запланированных показателей скорости и экономической эффективности, то возможно это в очередной раз докажет, что у каждой технологии есть шанс для ее реализации, а Жан Бертен и его Aérotrain просто опередили свое время.
Будущее покажет!
Техногенные катастрофы #42. Вупперталь
Автор: Даниил Ли.
Чё, котаны, техногенка?
Под Каменской реквестировали Вупперталь девяносто девятого. Что ж, вот он.
Впрочем, история эта началась столетием раньше. Она началась даже раньше самого Вупперталя. В 1901 году в рамках решения транспортной проблемы крупного, динамично развивающегося промышленного района – долины реки Вуппер – был построен необычный монорельс. Более популярное решение – метро – не годилось (невеликий бюджет, прочное скальное основание и отсутствие места под обычные ж/д пути из-за плотной застройки) в тех условиях. Сам проект был идеей Ойгена Лангена и позволял пустить поезд над единственным свободным местом в долине – над самой рекой. В 1894 проект получил одобрение бургомистров (сам Вупперталь, как административная единица, появится лишь в 1929 году; до того момента это были несколько разных городков в долине реки). 24 октября 1900 с большой помпой (сам кайзер пожаловал!) был запущен тестовый поезд, а с 1901 по 1903 были сданы все три очереди общей протяженностью 13,3 километра, большая часть которых проходит над рекой. В таком виде (с поправкой на реконструкции и модернизации) линия существует и сейчас.
Монорельс, наши дни
Общая идея проста как кирпич и настолько же надёжна. А-образные опоры опираются «ногами» на берега реки, под «перекладиной», подвешенный к рельсу ходит поезд. Система простая, надёжная, но кому когда это мешало учинить аварию, верно?
Так что бригада, менявшая по ночам рельсы и опоры в рамках начатой в 1997 году реконструкции монорельса к вековому юбилею, слегка выбилась из графика в ночь с одиннадцатого на двенадцатое апреля, и успела закончить работы буквально за десять минут до прибытия первого состава. В спешке забыли снять с рельса зажим (не заметили в утренних сумерках).
Зажим на рельсе
Прибывший без четверти шесть утра поезд врезался в него на скорости полусотни километров в час, и рухнув в реку с высоты десятка метров, попутно зацепив расположенный внизу трубопровод. Погибло пять, пострадало сорок семь человек.
Расследование установило отсутствие надлежащего контроля безопасности при выполнении ремонтных работ. Самих работяг суд оправдал, справедливо вздрючив вместо этого технадзор за недостаточно эффективный контроль безопасности. Оператор подвесной железной дороги выплатил около 1,3 миллиона немецких марок компенсаций пострадавшим и родственникам. Кроме того, всю дорогу и подвижной состав перепроверили и протестировали после аварии. Общая сумма расходов перевалила за восемь миллионов марок.
Автор: Даниил Ли.
Оригинал: https://vk.com/wall-162479647_239211
Живой список постов, разбитый по эпохам
Подпишись, чтобы не пропустить! Следующая техногенка будет завтра около 10:00 по МСК.
Все остальные техногенки здесь: pikabu.ru/@Cat.Cat/saved/1426045
История монорельса: Lockheed и ALWEG–"битва за трон"
Продолжение темы Монорельс ALWEG, один из пионеров монорельса.
Lockheed хотела обеспечить более дешевую и быструю перевозку пассажиров в аэропорты и из аэропортов, где летают лайнеры Lockheed.
Хотя рисунок монорельса Lockheed может показаться очень похожим на более известный монорельс ALWEG, тележки монорельса были принципиально другими.
Такая схема имеет древнюю историю.
Паровая монорельсовая дорога генерала Лероя Стоуна впервые появилась на выставке Centennial Exposition, посвященной 100-летию США в 1876 году.
Трасса была около 155 м (170 ярдов) в длину и соединялась с Залом садоводства и Залом сельского хозяйства в парке Фэрмаунт .
Вагон был изящно украшен в стиле викторианского ар-деко.
Монорельс имел два несущих двухребордных колеса, одно из которых приводилось в движение паровой роторной машиной типа «Ла Франс».
Вот так поезд выглядел спереди.
Несущий рельс был установлен поверх деревянных А-образных рам.
На 1346 мм ниже находились две направляющие для балансировки.
Несущие колеса имели диаметр 711 мм.
Котел был аналогичен обычным паровым двигателям: его длина составляла 6400 мм, а диаметр - 863 мм.
Кабина машиниста находилась в задней части, а чуть ниже были два резервуара с водой, за которыми был завален уголь.
Вот, собственно, компоновка самой паровой машины.
Модифицированная версия этого использовалась в 1878 году на железной дороге Брэдфорд и Фостер Брук в Пенсильвании.
Такая же система монорельсовой дороги была разработана французским инженером Шарлем Лартигом.
Если кому интересно, я постил Монорельс системы Лартига..
Но вернёмся к Lockheed.
Компоновка вагонов монорельса.
В источнике пишут, что у монорельса Lockheed было три стальных рельса–один несущий и два направляющих, но присмотревшись увидел ещё один–контактный.)
Lockheed выиграла контракт в Сиэтле на строительство линии стоимостью 4 900 000 долларов, которая должна была включать пять поездов и путь с петлями для разворота на каждом конце линии.
Поезда должны были перевозить 96 пассажиров со скоростью до 100 км / ч от центра Сиэтла до выставочного центра.
Lockheed позже отказался предоставить средства на проектирование и строительство линии. Тем временем в 1960 году ALWEG представила новое предложение, согласно которому компания берет на себя полную стоимость системы. Таким образом, Lockheed проиграл.
Компания Lockheed Monorail была выбрана для строительства монорельсовой дороги Токио, но опять в результате победил ALWEG.
Теперь, по поводу цен на строительство–для Лос-Анджелеса Lockheed предлагал от 1,5 до 3 миллионов долларов за милю по сравнению с 9 миллионами долларов за милю при строительстве автострады и 11 миллионами долларов за милю для метро (цены 1959 года).
Наконец, в мае 1961 года Lockheed Aircraft Corporation и Kawasaki Aircraft вместе с шестью другими известными японскими фирмами совместно учредили Nihon-Lockheed Monorail Company.
В 1962 году на заводе Kawasaki в Гифу, Япония, был построен полномасштабный испытательный полигон монорельса.
Четыре мощных электродвигателя на вагон разгоняли поезд до 121 км / ч.
В 1966 году этот поезд поступил на построенный монорельс между Мукогаока-юэн и близлежащим парком развлечений.
Построенная за 200 миллионов йен (550 000 долларов в долларах 1966 года), короткая 1,1-километровая линия была первой монорельсовой дорогой, построенной Nihon-Lockheed Monorail Company.
К концу 1990-х годов линия обслуживала в среднем всего 900 пассажиров в день.
В феврале 2000 года в вагоне были обнаружены трещины, в результате чего монорельс остановили и в конечном итоге решили, что стоимость замены слишком высока.
Парк развлечений закрылся вскоре после этого в 2002 году.
Кстати, пассажиры жаловались, что поезд не плавно кренился в сторону при повороте, а сотрясал пассажиров серией раскачиваний и рывков, пока не достигал нужного угла поворота.
Также открылась в 1966 году еще одна монорельсовая дорога Nihon-Lockheed в Химедзи, Япония.
Но просуществовала ещё меньше по экономическим причинам–до 1974 года.
Больше монорельсов Lockheed не производил.
Вагончик выставлен в местном музее.
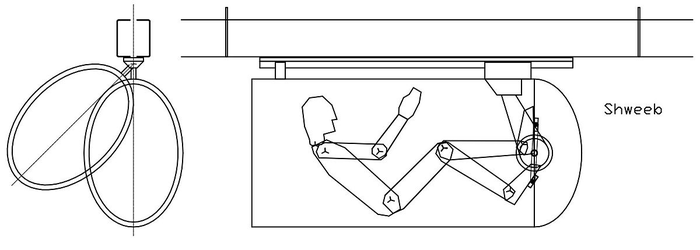
Индивидуальный монорельс
Shweeb - это предлагаемая индивидуальная сеть скоростного транспорта, основанная на монорельсовых капсулах с велосипедным приводом.
Первоначально прототип проекта был разработан и реализован в Роторуа , Новая Зеландия, как аттракцион.
Скорость достигается приличная–примерно 50 км / ч.
Но конечно по-моему мнению выглядит это как-то несерьёзно, не тянет на транспорт будущего, тут мне интересны исторические параллели–о них немного ниже.
Удобство так себе.)
В группе удобней–есть возможность схалявить.
Ну конечно, эта идея возникла не на пустом месте.
Использование велосипедов на монорельсе впервые применено примерно в 1890-х годах в Германии и США.
Изобретение «велосипеда Schwebe» обычно приписывают Альберту Шарлье.
Велосипедная дорога Гочкиса была построена как монорельс с велосипедным приводом.
Она была изобретена Артуром Гочкисом, а первый участок построен между городами Смитвилл и Маунт Холли в округе Берлингтон штата Нью-Джерси в 1892 году, и была закрыта в 1897 году.
Собственно–сам монорельсовый велосипед.
В 1892 году Артур Гочкис получил патент на велосипедную монорельсовую дорогу и подписал контракт с компанией H.B. Smith Machine Company для изготовления.
Изначальная трасса длиной примерно 2,9 км шла от Смитвилла почти прямолинейно, 10 раз пересекая реку Ранкокас-Крик и прибывая в Маунт Холли.
Строительство было завершено вовремя, в сентябре 1892 года.
Целью монорельса было позволить работникам быстро перемещаться из Маунт Холли на завод в Смитвилле.
Ежемесячный билет стоил 2 доллара США(что эквивалентно 57 долларам сегодня).
Вот так сам педали крутишь, так ещё и денег кучу платишь.)
Рекорд по времени передвижения по железной дороге составил 4,5 минуты (у меня получилось, что примерная скорость чуть меньше 40 км / ч–по тем временам, формула1 просто), а средняя поездка длилась 6-7 минут.
Она имела только один путь, в связи с чем проезд другого велосипедиста был невозможен, а при их встрече с разных направлений был необходим переезд на колею разъезда.
После 1897 года количество поездок снизилось, и монорельс разобрали.
Skyride - это монорельсовая система с педальным приводом, которая была впервые задумана Скоттом Олсоном, тем же человеком, которому приписывают создание роликовых коньков.
Используется как аттракцион на борту корабля.
Вообще–концептов педального монорельса достаточно много.
Ну и в заключение, в качестве забавного–велосипедный подъёмник.
Велосипедный подъемник Трампэ был сконструирован и установлен в 1993 году Ярлом Ванвиком.
Основной целью создания подъёмника было увеличение количества велосипедистов норвежского города Тронхейм.
Длина подъёмника 130 м–это первый и единственный в мире велосипедный подъёмник.
Велосипедист ставит ногу в специальную подножку, вставляет карточку в автомат и нажимает кнопку “пуск”.
Через несколько секунд подножка начинает движение, задача велосипедиста придерживаться заданного направления на скорости 8 км/ч.
С виду мне немного напоминает паровую катапульту, но нет это просто эскалатор.
До 5 человек могут одновременно пользоваться этим устройством, которое, к слову, предназначено не только для велосипедов: в преодолении холма оно помогает любому небольшому колесному транспорту и его владельцу.






















































