О сегодняшней попытке запуска New Glenn
8:00 утра: до запуска New Glenn 30 минут
8:20 утра: до запуска New Glenn 30 минут
8:30 утра: до запуска New Glenn 30 минут
8:45 утра: до запуска New Glenn 30 минут
9:00 утра: до запуска New Glenn 30 минут
9:13 утра: до запуска New Glenn 30 минут
Первый полет New Glenn
Первый полет New Glenn
Предстоящие дни будут весьма насыщенными для всех любителей больших ракет. Завтра Blue Origin попробует осуществить первый запуск своей тяжелой ракеты New Glenn. Ей потребовалось более 10 лет, чтобы перейти от стадии чертежей до реального изделия, готового к полету в космос.
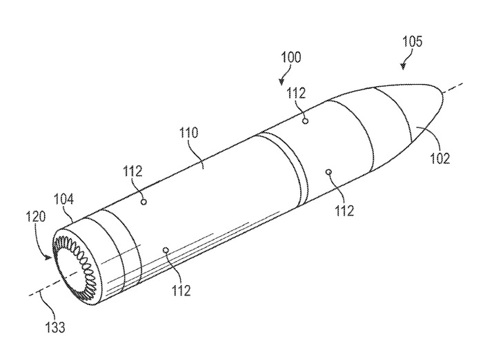
New Glenn состоит из двух ступеней, первая из которых является многоразовой. Она может вывести до 45 тонн груза на низкую орбиту. Во время первого полета на борту ракеты будет находиться прототип спутниковой платформы Blue Ring. План полета выглядит следующим образом. После отделения первая ступень возвращается на Землю и садится на баржу. Связка из второй ступени и Blue Ring выходит на орбиту с параметрами 2400 на 19300 км, после чего компания проводит с ними различные тесты. Затем они будут сведены с орбиты и сгорят в атмосфере.
Конечно, учитывая амбициозность планов и то, что речь идет о совсем новой ракете, кажется маловероятным, что Blue Origin удастся добиться всех поставленных задач. Но кто знает? Трехчасовое окно для запуска New Glenn откроется 12 января в 06:00 по Всемирному времени.
Ракета New Glenn компании Blue Origin — за день до старта
Возможно, уже завтра (12 января 2025) носитель сверхтяжелого класса New Glenn компании Blue Origin отправится в свой первый полёт.
Если кто не знает, расскажу, что New Glenn — это нечто среднее между знаменитой ракетой Falcon 9 с грузоподъемность 22 тонны, и находящейся в фазе испытаний системы Starship (грузоподъемной которой пока непонятна, но наверняка более 100 тонн). New Glenn является частично многоразовым носителем - возвращается и переиспользуется только первая ступень. Вторая ступень одноразовая. Насчет возможного переиспользования створок обтекателя (SpaceX возвращается и переиспользует обтекатель уже на постоянной основе — он дорогой — несколько млн.долларов) информации нет, но скорее всего такая возможность в конструкцию не заложена.
Подобно тому, как садятся ступени Falcon 9 на плавучую роботизированную платформу в океане, точно так же предполагается посадка и первой ступени New Glenn. Но разница в том, что ступень New Glenn тяжелее, толще - почти как Starship (7 метров в диаметре против 9). А чем крупнее и тяжелее ступень, тем труднее её принять барже. После нескольких попыток посадить вторую ступень Startship разработчики решили отказаться от традиционной посадки на выдвижные опоры и теперь ступени системы Starship ловит Мехазилла. Но первая ступень New Glenn должна садиться самым традиционным образом. Вот и увидим, насколько это реально. Впрочем, в первый раз это очень успешная посадка маловероятна. А в перспективе ракету могут научить садиться, как это было в случае с Falcon 9 - её первая ступень штатно села далеко не с первого раза.
Грузоподъемной ракеты New Glenn заявлена на уровне 45 тонн на низкую околоземную орбиту - это довольно много - чуть меньше, чем у Falcon Heavy, но сравнимо.
Серия предстартовых фотоснимков и мнение Эрика Бергера (известного журналиста в космической сфере) здесь
В ожидании первого старта ракеты New Glenn от компании Blue Origin
Компания Blue Origin — прямой и, возможно, самый близкий конкурент SpaceX. Её основатель — Джефф Безос (Jeffrey Preston «Jeff» Bezos), более известный как основатель и владелец компании Amazon, а также — глава издательского дома «Вашингтон пост», несколько лет являлся богатейшим человеком планеты, и лишь пару лет назад уступил место в этом рейтинге Илону Маску. Практически одновременно с Илоном Маском Джефф Безос оценил перспективы частного сектора в американской и мировой космонавтике, и стал активно вкладываться в эту индустрию — создал аэрокосмическую компанию, с именем которой много лет ассоциировались лишь коммерческие суборбитальные прыжки к границе земной атмосферы — аттракцион для богатых. Но параллельно с этим велась разработка носителя тяжелого класса, стратегически нацеленного на многоразовое использование.
Эта разработка затянулась. Старт ракеты New Glenn (названной в честь первого американского астронавта, впервые совершившего орбитальный полет — Джона Гленна) ожидается уже много лет. Создание её началось более 10 лет назад, но с тех пор сроки демонстрации хоть чего-то лишь отодвигались. Были даже подписаны контракты на выведение полезной нагрузки, но большинство из них оказались расторгнуты из-за неготовности носителя, либо перенесены на неопределенный срок. Например, в 2021-м году New Glenn должен был доставить исследовательскую станцию на Луну, а в 2023-м отправить очередного робота на Марс. Большая часть несостоявшихся контрактов Blue Origin достались (не трудно догадаться, кому) компании SpaceX. Дошло дело до смешного — как и компания SpaceX, Blue Origin нацелена создать собственную спутниковую группировку для широкополосного доступа к сети Интернет по всему Миру (это так называемый Project Kuiper — аналог системы Starlink), и в первую очередь для этого проекта разрабатывалась ракета New Glenn, но первые аппараты спутниковой группировки Джеффа Безоса выводились на орбиту носителями Falcon 9 Илона Маска.
Задержка в разработке New Glenn во многом связана с проблемами при разработке двигателей BE-4. Это инновационные двигатели на Метан-Кислородной топливной паре. Илон Маск предпочел Керосин-Кислородное топливо для своей рабочей лошадки Falcon 9 и не просчитался. Несмотря на перспективную выгоду от использования метана, сама технология метановых движков пока еще только исследуется. Но Безос решил не размениваться на временные решения и в итоге сильно застрял на этапе разработки и тестирования, чем подставил и партнеров по индустрии — американского космического гиганта ULA (United Launch Alliance), чья ракета «Вулкан» (пришедшая на смену носителю Атлас-5, использовавшему российские двигатели РД-180) несколько лет тоже не могла ничего выводить на орбиту, так как двигателей BE-4 для неё не было. И большинство контрактов ULA тоже достались компании SpaceX.
Но вот теперь уже готовы двигатели, и даже «Вулкан» уже совершил пару запусков. А New Glenn до сих пор никак не мог стартовать — очевидно, разработка уперлась еще во что-то, кроме двигателей. В конце 2024 года камнем преткновения стало разрешение на запуск от FAA, которое прежде страстно тормозило испытательные полеты системы Starship от SpaceX, но кажется теперь у американского регулятора новая страсть.
Впрочем, разрешение уже получено — в первые дни наступившего 2025 года. Проведены огневые испытания носителя, который уже много дней находится на стартовой площадке космодрома на мысе Канаверал. Старт может произойти в самое ближайшее время, но не ранее 10 января.
Это будет демонстрационный полет, в ходе которого в космическом пространстве окажется демо-версия орбитального буксира "Blue Ring Pathfinder", который даже не станет отделяться от второй ступени — будет сведен с орбиты (затоплен) вместе с ней. Орбитальные буксиры — относительно новое направление в космической технике. Стоимость запусков стремительно падает. А стоимость полезной нагрузки по прежнему довольно высока. Например, вывод на орбиту может стоить от 50 до 100 млн.долларов, но сам аппарат может стоить миллиард. Срок его работы ограничен износом солнечных батарей или запасом топлива для коррекции и подъема орбиты. Что если можно было бы дозаправить спутник стоимостью миллиард за 100 млн.долларов или перевести его на другую орбиту, произвести замену ряда компонентов прямо на орбите, или даже свести с орбиты — с помощью специального спутника — буксира? Раньше о таком не задумывались. Конечно, система Space Shuttle иногда решала подобные задачи, но теперь её нет, а спутники, ждущие обслуживания на орбите есть. Эту нишу тоже пытаются заполнить своими разработками новые игроки на космическом технологическом рынке. Компания Blue Origin разрабатывает и буксиры. "Blue Ring Pathfinder" — их детище. Получается, что в предстоящем полете мы увидим демонстрацию сразу двух перспективных технологий.
Автор: Андрей Климковский
New Glenn / Blue Origin
Как можно видеть на видео, New Glenn от Blue Origin прошел огневые испытания первой ступени.
Безос и Джарвис
В преддверии возможного запуска новой ракеты Безоса New Glenn, интересно обсудить перспективы ее дальнейшего развития в полностью многоразовую ракет.
Как известно, в данный момент она является лишь частично многоразовой, где многоразовая только первая ступень, а вторая ступень оснащенная довольно сложными и дорогими водородными двигателями, одноразовая.
С такой конструкцией Безос может рассчитывать на определенный коммерческий успех, но не на длительную перспективу. Для всех очевидно что если Blue Origin не создаст многоразовую вторую ступень, то он проиграет гонку SpaceX, которую на данный момент он и так не выигрывает.
Учитывая, что Blue Origin крайне закрытая компания, информации о второй многоразовой ступени практически нет, разве что в 2021 году в новостях проскочило название нового проекта Blue origin под названием Джарвис о которой нет никакой официально открытой информации.
Зато есть Патент Blue Origin из которого можно узнать несколько интересных вещей.
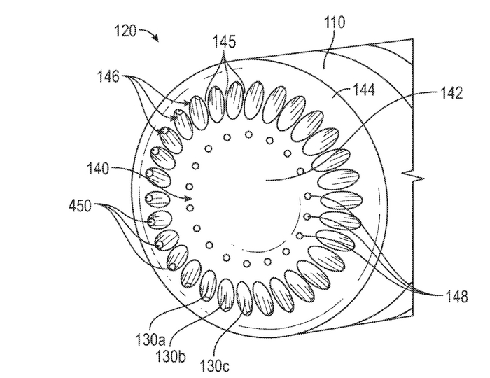
На удивление Джарвис не повторяет Starship, а идет по весьма интересному и многообещающему, но на практике не опробованному, пути вертикальной посадки ступени с объединением двигателя второй ступени и тепловой щит в единое целой, что практически один в один повторяет концепцию Строим ракеты, чтобы летать и летать снова посредством применения клиновоздушного двигателя.
В качестве двигателя выступает разрабатываемый Blue Origin водородный двигатель второй ступени лишенный камеры сгорания и сопла, по сути используется только моторный блок, а камера сгорания заменена на 150-300 отдельных камер, распложенных под углом к продольной оси.
Дополнительно отработанные газы турбонасосов выводятся через специальные сопла на поверхности теплового щита, для создания газовой завесы, которая должна снизить тепловую нагрузку на тепловой щит.
В патенте ничего не сказано ни о посадочных опорах, ни о возможности ловли ступени каким либо механизмом (надеюсь и не будет).
Стоит заметить что подобный способ посадки гораздо прогрессивней применяемого в данный SpaceX, но одновременно и более сложный.
Хотя SpaceX и приходится дополнительно усиливать starship, чтобы он мог вынести боковые нагрузки, зато они имеют возможность распределить тепловую нагрузку на значительно большую боковую поверхность, в то время как донному (кормовому) щиту приходится работать в значительно более жестких условиях, зато нет необходимости крутить поворот-переворот которые возможно еще приемлимы для грузовой ракеты, но крайне сомнительны для пассажирской.
Мое личное мнение, что пока одни уже прославили в веках SpaceX и похоронили всех его конкурентов в реальности все только начинается и будущие сделает это соревнование только еще интересней.













