Заработай в гараже! Плохой сигнал
Вы полны идей и энергичны, вы хотите создать стартап и разбогатеть в момент? Действуйте! Вот истории успеха, о людях, которые "сделали себя сами", построили мировые миллиардные империи в гараже. Верь в себя и повтори их успех... если конечно у тебя и твоих близких есть блатные связи и куча денег, а у тебя самое лучшее образование и знакомые инвесторы, которые готовы дать тебе "творить", не спрашивая долгое время за получившийся результат. И да же при этих вводных никто не даст тебе гарантию, что ты станешь Безосом и Маском, а не прогоришь к чертям, но зато при упомянутых выше вводных ты все равно останешься преуспевающим парнем, да и еще с гаражом в придачу.
00:00 Катастрофа, которую сегодня списывают на пандемию
00:40 Главное - оторвать задницу от дивана
01:53 Суть мифа о "гаражных стартапах"
04:12 Уолт Дисней
06:38 Уильямом Хьюлетт, Дэвид Паккард (Hewlett-Packard)
09:14 Стив Джобс, Стив Возняк (Apple)
12:06 Ларри Пейдж (Google)
13:28 Илон Маск (Paypal, Tesla, SpaceX)
15:49 Джефф Бэзос (Amazon)
18:01 Кукла Барби, компания Mattel
20:54 Билл Гейтс (Microsoft)
21:57 Уильям Харли, Артур Дэвидсон (Harley-Davidson)
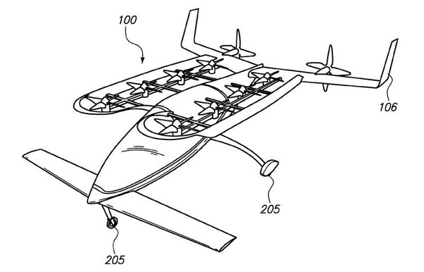
Kitty Hawk опубликовал первое видео «летающего электромобиля» Flyer
Финансируемый сооснователем Google Ларри Пейджем американский стартап Kitty Hawk, показал первый прототип своего «полностью электрического летающего автомобиля» Flyer. По словам производителя, научиться управлять аппаратом можно «в считанные минуты». Кроме того, лицензия пилота для управления Kitty Hawk Flyer не нужна, поскольку он относится к категории сверхлегких воздушных судов. Потребительская версия Kitty Hawk Flyer должна поступить в продажу уже в конце этого года.
Kitty Hawk Flyer представляет собой летательный аппарат с вертикальным взлетом и посадкой. Как можно видеть, аппарат небольшой и рассчитан на одного человека. В движение Kitty Hawk Flyer приводят восемь пропеллеров. Суммарная мощность электродвигателей и емкость батарей Kitty Hawk Flyer не сообщается. Зато известно, что аппарат весит около 100 кг и способен развивать скорость до 40 км/ч.
В Kitty Hawk отмечают, что финальный вариант Flyer будет отличаться от прототипа, но чем конкретно не уточняют.
Как уже отмечалось выше, компания планирует начать продажи Flyer в конце 2017 года, но пока не определилась с ценовой политикой. Но желающие уже могут получить скидку в размере $2000 от будущей розничной цены аппарата. Для этого нужно внести $100 в качестве членского взноса. Помимо скидки аванс предоставляет клиенту эксклюзивный доступ к летному тренажеру и мероприятиям Kitty Hawk.
За пределами США Kitty Hawk Flyer продаваться не будет. По крайней мере, сейчас у производителя нет таких планов.
Отметим, что Kitty Hawk – не единственное предприятие, занимающееся разработкой персонального летательного аппарата на деньги Ларри Пейджа. Сооснователь Google также инвестировал в другой таинственный стартап под названием Zee.Aero. Летом прошлого года сообщалось, что с момента основания в 2010 году Пейдж уже вложил в Zee.Aero более $100 млн. Отметим, что не только Ларри мечтает о простом и удобном персональном ЛА для быстрых путешествий. Гиганты индустрии вроде Airbus наряду с десятками стартапов по всему миру тоже грезят о летающих автомобилях. И, совсем случайно (или нет), компания Uber проводит на этой неделе пресс-конференцию в Техасе, чтобы рассказать о собственных амбициозных планах в отношении летающих автомобилей.
Ларри Пейдж втайне инвестировал более $100 млн в стартапы по разработке «летающих автомобилей»
Компанию Zee.Aero Пейдж, по данным Bloomberg, финансирует с момента основания в 2010 году. За шесть лет он инвестировал в стартап по меньшей мере $100 млн и в настоящее время продолжает финансирование, рассказали источники издания.
В Zee.Aero работают примерно 150 человек, по данным издания, это дизайнеры и инженеры, которые раньше работали в NASA, Boieng и SpaceX. Как пишет Bloomberg, проект «летающего автомобиля» компании представляет собой небольшой самолёт с возможностью вертикальных взлёта и посадки, который работает на электричестве. В патенте, поданном Zee.Aero в 2012 году, машина описывается как компактный самолёт — «безопасный, тихий и лёгкий в управлении».
По данным издания, компания уже собрала два прототипа и проводит их испытания в аэропорту, который расположен примерно в часе езды от штаб-квартиры Google в Маунтин-Вью
Тазы валят!!!
Ларри Пейдж и Сергей Брин основали новую компанию(abx.xyz)...
Из биографии Илона Маска
В октябре 2001 года бизнесмен Илон Маск приезжал в Москву, чтобы купить переоборудованную межконтинентальную баллистическую ракету для отправки мышей на Марс.
Маск провел несколько встреч в Москве, в том числе с представителями НПО имени Лавочкина и компании «Космотранс»,
В феврале 2002 года Маск вернулся в Москву с портфелем, полным долларов, намереваясь купить уже три ракеты. На встрече с представителями «Космотранса» ему была названа цена $8 млн за ракету. Маск предложил ту же сумму за две. Последовал отказ, и предприниматель покинул Москву, уверенный, что русские либо не хотят иметь с ним дело, либо хотят выжать из него, сколько смогут.
Пока Маск летел из России он набросал план дальнейших действий и заявил ошарашенным партнерам, что решил построить ракеты самостоятельно. Так началась история SpaceX. В сентябре 2008 года ракета Falcon 1 стала первой в истории частной ракетой на жидком топливе, которая вышла на орбиту Земли.
.... В центре Пало-Альто, где находится штаб-квартира Google, у компании есть секретное место, в котором Маск, Пейдж и его партнер Сергей Брин иногда собираются, чтобы обсудить какие-нибудь необычные идеи, пишет Лиза Эадичикко, которая для издания Business Insider также ознакомилась с книгой Вэнса. Она цитирует отрывок из воспоминаний приятеля Маска Джорджа Зэкэри, который присутствовал на одной из таких встреч.
«Я как-то раз там побывал, и Илан рассказывал о постройке реактивного самолета, работающего на электричестве, который мог бы взлетать и садиться вертикально. Ларри сказал, что самолет должен уметь садиться на склоны, где есть горнолыжные трассы, а Сергей сказал, что нужно, чтобы он мог сесть в порту Манхэттена. Потом они начали говорить о постройке пассажирского самолета, который бы кружил вокруг Земли, и вы могли бы запрыгнуть в него, очень быстро добраться, куда вам нужно. Я подумал, что они шутят, но в конце я спросил Илона: «Ты действительно собираешься это сделать?» И тот отвел: «Да».
Биография Маска появится в продаже 19 мая по цене $21,14, а пока доступна по предзаказу.






