
Сделай сам
Хвастушки 2
Хвастушки
Из палок и говна - ящик для винила
Были сосновые рейки от упаковки газовой плиты.
Также была потребность в новом ящике для пластинок.
Придумал такой вот ящик.
С деревом возиться люблю.
Применил новый для себя метод - поперечное соединение вполдерева.
Для надёжности по диагонали закрепил чопиками.
Процесс создания занял два дня.
Первый - макет, расчет, сборка.
Второй - проклейка, обжиг, окраска, работа над ошибками.
Конструкция установлена на колеса. Учтены вероятные нагрузки.
Около 150 дисков держит.
Лак использовал паркетый в 2 слоя.
Хотел минимизировать наличие металла.
Однако, пришлось набить старых медноголовых гвоздиков в нижние рейки для уменьшения скольжения дисков по ящику.
Затраты:
Материал - халява
Лак - остатки от ремонта
Гвозди - из запасов
Колесики - 540 руб.
Газ - 100 руб.
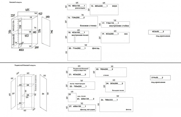
Как сделать компактную и вместительную рабочую зону из ЛДСП в маленькой комнате
Решил сделать большой стол для хранения мелких и не очень запчастей от электроники и компьютерной техники, что бы он не занимал много места и в то же время был большой, с вместительными ящиками и полками для хранения. В итоге получилась такая стенка стол размером 600х2600мм.
Для сборки понадобится такой инструмент:
Шуруповёрт
Сверло Форстнера 35
Сверло под конфирмат
Карандаш
Рулетка
Нож
Шлиф-брусок
Войлок
Утюг
Из материала использовал:
ЛДСП - 3 листа
Меламиновая кромка - 40 м
Конфирмат - 50 шт
Петли мебельные - 16 шт
Уголки пластиковые по ЛДСП - 20 шт
Примерно так я себе представил, то что хочу сделать.
Для начала замерил площадь того места где будет мой стол.
Исходя из этих размеров спроектировал все составляющие и перенёс на бумагу.
С помощью специальной программы рассчитал раскрой ЛДСП.
Поехал в мебельный цех, выбрал нужный мне цвет и заказал распил.
На следующий день мне привезли все детали, так как я буду сам закатывать торцы ЛДСП, закупил меламиновой кромки 30 метров. Закатывал обычным утюгом.
Закатывал не всё сразу, по одному модулю, закатал, собрал, установил и т.д.
Процесс сборки очень трудоёмкий, но увлекательный.
Нижняя часть подстолья крепилась к стене на дюбель-шурупы на высоту 10см.
Для того чтобы под ней можно было легко помыть пол.
Все детали модулей мебели крепил на конфирматы.
Полки в подстолье крепил на пластиковый уголок для соединения плит ЛДСП на 4 самореза.
Все дверцы на обычных мебельных петлях.
Рабочая площадь столешниц, их к слову две, 450х1200мм.
Когда столешницы не используются они служат дверцами для нижних полок в подстолье.
Получилась очень удобная, компактная и вместительная мебель.
Я очень доволен.
А вот творческий беспорядок!)
Спасибо за внимание всем!
Если кому, что не понятно, с удовольствием отвечу в комментарии, спрашивайте.
Всем добра и мира!!!
Заходите в гости:
Первые токарные детали в своей мастерской
Друзья, всех приветствую!
Не могу остаться в стороне, в виду того что обещают прикрыть YouTube. Поэтому чтобы оставалься на связи при желании и возможности подпишитесь на мою страничку в ВК и Дзене:
DIY _great idea
Сделай сам
Do it yourself
Do it yourself









































