27

IBM Power - личное мнение (часть 2а)

спасибо подписчикам за доверие и за терпение. лето, дача, сад и огород были важнее. что поспособствовало обрастанию темы подробностями. интересны ли они только мне, решать читателям.


1. почему IBM Power и чем эти процессоры выделились

2. особености ввода-вывода серверов на основе Power

- 2а. POWER, POWER2

- ...

3. как работают LPar-ы, или в чем преимущества Power Hypervisor + HMC

4. VIOS или не VIOS, вот в чём вопрос...

5. AIX, устаревший UNIX, или неувядающий

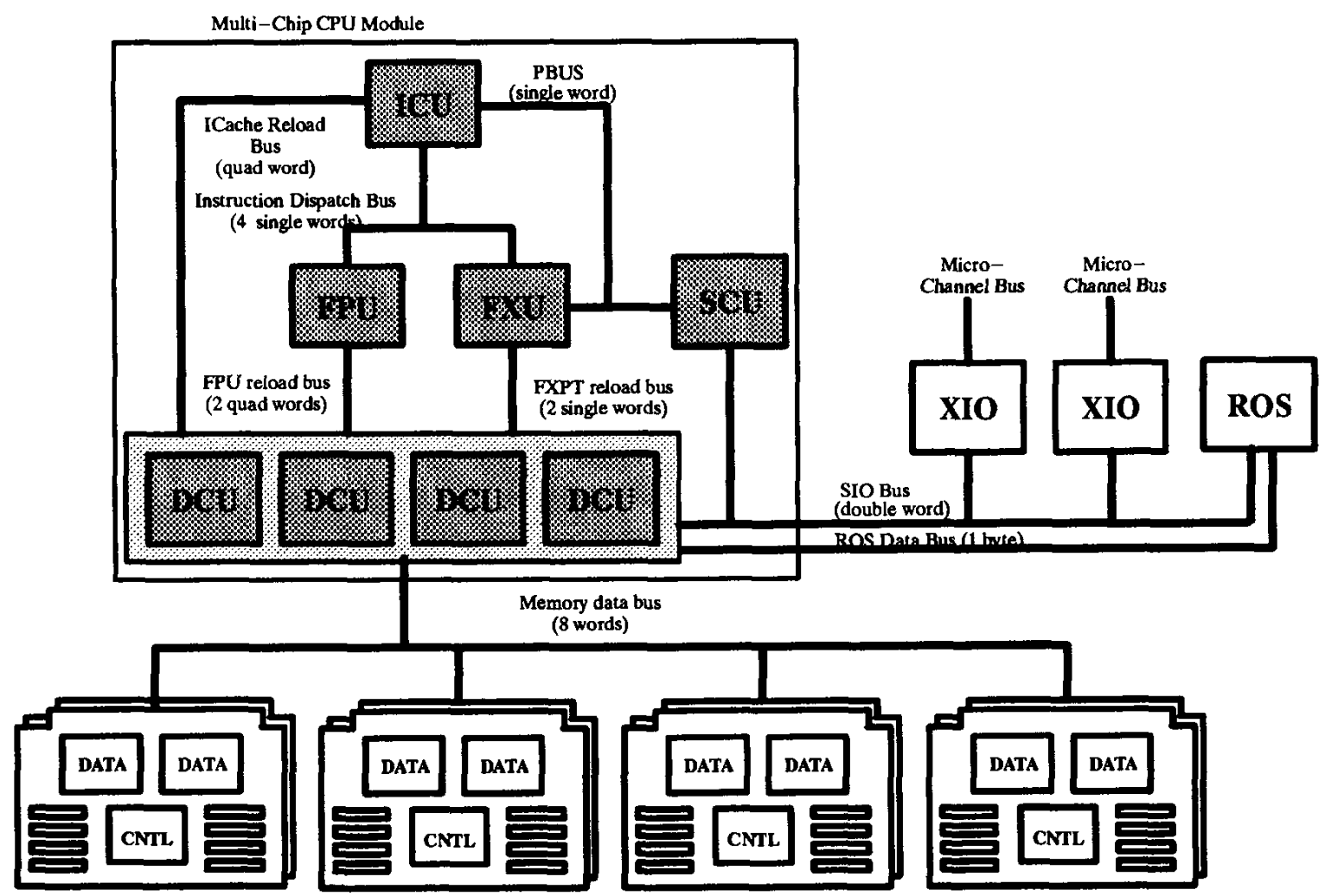
хороший процессор всего лишь часть производительной ЭВМ. без хорошей памяти и без быстрого доступа к устройствам ввода-вывода не обойтись. мода в 80е была на микропроцессоры, впихивание всех блоков процессора в одной микросхеме. в погоне за дешевизной уменьшали корпус совмещением адресной шины и шины данных. но основные продукты IBM всегда были сложными, а в погоне за высокой производительностью и дорогими. тем более, что люди, привыкшие к процессорам размером в шкаф и ЭВМ размером в спортивный зал, ограничивать себя в производительности не привыкли. поэтому с целью выжать как можно больше производительности шина наоборот расширяется. вводя одновременное выполнение нескольких комманд, нужно все эти команды загрузить. тем более, что операнды комманд тоже нужно загрузить.

первое поколение IBM POWER позволяло одновременное выполнение одной команды загрузки/сохранения/перехода, одной целочисленной команды и одной команды с плавающей запятой. каждая по 32 бит, значит нужны не менее 96 битов для загрузки трех команд из памяти. поэтому шина доступа к памяти сделали шириной в четыре слова, или 128 битов. на схеме это четыре блока кеша данных (data-cache unit / DCU), 32 битов каждый.

на каждой плате четыре пары 32-битовых планок памяти, что позволяет чередованием достичь более высокой скорости доступа к данным. 64-битовые платы памяти нужно устанавливать попарно.

знакомая хитрость, которой пользовались и пользуются все производители сложных микросхем: часть отбракованных на производстве микросхем можно вернуть в строй, понизив тактовую частоту или выключая неработающие блоки. другие удешевляют, жертвуя параметрами. многим знакомы 16-битовые процессоры Intel 8088/80188 с 8-битовой иной данных, или 32-битовые Motorola 68000 и Intel 80386SX с их 16-битовой шиной. процессоры POWER не исключение, существует упрощенный вариант процессора с выполнительными блоками пониженной тактовой частоты и двумя блоками кеша. в них шина к памяти 64 бит и платы памяти можно устанавливать поштучно.


например из первых моделей POWERserver 320 и POWERserver 520 работали на 20 МГц, включали только 32 килобайт кеша, шина к памяти была 64-битовой и оснащались одной картой памяти на 8 MB. зато модели POWERserver 530 и POWERserver 540 работали на 25 и 30 МГц соответственно, включали 64 килобайт кеша, имели 128-битовую шину, а объем памяти начинался с 16 MB (2х8MB) и 64 MB (2x32MB).

доступ к устройствам ввода-вывода осуществляется через отдельную шину System Input/Output (SIO). о ней очень мало известно, но она 64-битовая. последнее приводило немало людей к заблуждению, что это 64-битовая шина MicroChannel, хотя между ними сидит Input/Output Channel Controller (IOCC). предположительно работала на частоте процессора.


шина MCA позволяет обмен 64-битовыми двойными словами через 32-битовую шину при помощи "мультиплексирования". о последнем тоже мало что известно и даже служители IBM порой пишут невероятные вещи. догадываясь по скудным данным в открытом доступе, "мультиплексирование" проводит обмен второго 32-битового слова через линии адреса. таким образом некоторые платы линейки RS/6000 могли достичь теоретический максимум в 80 MB/s, что в серверах PS/2 ограничено до 40 MB/s. встречал упоминания, что на практике можно было достичь около 77 MB/s при обменах блоками в 4 килобайт. все это при частоте шины в 10 МГц. теоретически при частоте в 20 МГц потолок скорости 160 MB/s, но не знаю был ли когда-либо достигнут. жадность IBM проиграла PCI.


также очень мало известно о Serial Optical Channel Converter (SOCC), что появился годом позже на серверах 500 серии и 900 серии. в открытом доступе есть упоминания, что скорость каждого из двух оптических портов была 220 Мбит/с, что в те времена было вдвое быстрее самого быстрого наличного сетевого стандарта FDDI. устройства поддерживают связь точка-точка между машинами, но IBM указывает, что можно купить коммутатор у партнера. операционная система AIX поддерживает связь по протоколу TCP/IP через Serial Optical Link.


с улучшением технологии изготовления микросхем появляются некоторые улучшения производительности за счет повышения тактовой частоты. за этим можно подозревать связанную с частотой процессора скорость шины SIO, но потверждения тем подозрениям вряд ли удастся найти. процессоры POWER работали на частотах 20 МГц, 25 МГц и 30 МГц. первое улучшение (POWER+) достигло частоты в 25 МГц, 33 МГц и 41 МГц. второе улучшение (POWER++) дало 25 МГц, 33 МГц, 41 МГц, 50 МГц и 62,5 МГц. на таких относительно высоких частотах задержка доступа к памяти уже является основным узким местом. это приводит к замене плат памяти на новых моделях.


машины POWERserver 970 и POWERserver 980 добавляют второй IOCC на шине SIO, что дает вторую шину MicroChannel (2x 80 MB/s) и еще два порта SOCC.

на смену первому поколению приходит второе. для дальнейшего повышения производительности повышается суперскалярность. в процессорах POWER2 уже два АЛУ и два блока вычислении с плавающей запятой. их нужно запитывать и шина к памяти расширяется до 256 бит, а карты памяти лучше добавлять группами по четыре. хотя возможность установить всего лишь две карты памяти предусмотрена, но это сужает шину до 128 бит с потерей производительности.


вторая шина MicroChannel в модели POWERserver 990 уже не добавляется по заказу, а установлена штатно.

(продолжение следует...)

Лига Сисадминов

2.4K постов18.9K подписчиков

Правила сообщества

Мы здесь рады любым постам связанным с рабочими буднями специалистов нашей сферы деятельности.