Горячее
Лучшее
Свежее
Подписки
Сообщества
Блоги
Эксперты
Войти
Забыли пароль?
или продолжите с
Создать аккаунт
Регистрируясь, я даю согласие на обработку данных и условия почтовых рассылок.
или
Восстановление пароля
Восстановление пароля
Получить код в Telegram
Войти с Яндекс ID Войти через VK ID
ПромокодыРаботаКурсыРекламаИгрыПополнение Steam
Пикабу Игры +1000 бесплатных онлайн игр Поднимайтесь как можно выше по дереву, собирайте цветы и дарите их близким.
Вас ждут уникальные награды и 22 выгодных промокода!

Пикаджамп

Аркады, Казуальные, На ловкость

Играть

Топ прошлой недели

  • Oskanov Oskanov 9 постов
  • Animalrescueed Animalrescueed 46 постов
  • AlexKud AlexKud 33 поста
Посмотреть весь топ

Лучшие посты недели

Рассылка Пикабу: отправляем самые рейтинговые материалы за 7 дней 🔥

Нажимая «Подписаться», я даю согласие на обработку данных и условия почтовых рассылок.

Спасибо, что подписались!
Пожалуйста, проверьте почту 😊

Помощь Кодекс Пикабу Команда Пикабу Моб. приложение
Правила соцсети О рекомендациях О компании
Промокоды Биг Гик Промокоды Lamoda Промокоды МВидео Промокоды Яндекс Маркет Промокоды Отелло Промокоды Aroma Butik Промокоды Яндекс Путешествия Постила Футбол сегодня
0 просмотренных постов скрыто
120
oceanpnz
oceanpnz
3 года назад
Лига биологов
Серия Всё о крокодилах

Брачные игры наших крокодилов⁠⁠

Предупреждаю сразу, если вы "руссо туристо - облико морале", и, краснея от собственной дерзости, заменяете слово "яйцо" эвфемизмом "куриный фрукт", то данный пост лучше не читать, поскольку речь пойдёт о личной жизни наших крокодилов Леры и Валеры. И крокодилья эротика тоже будет приложена.

Наши нильские крокодилы. Самка Лера в воде, самец Валера на суше.

Утро началось с того, что самочка была необыкновенно активна. Т.е. не лежала бревном, как они это делают 50% времени, и не висела в воде поплавком - то чем они заняты ещё 49%, а перемещалась в воде, выползала на сушу, забиралась на ступеньки.

Вот она кстати.

Красавица! Глазки строит!

Лера более светлая. А ещё удобно её отличать по глазам.

Они у неё жёлтые, как у кошки.

Во всей своей трёхметровой красе.

Она изящно плавала, томно пускала носом пузыри, и даже била хвостом по воде.

Супруг, впрочем, к демонстрации прелестей остался равнодушным. Ему было некогда. Он лежал...

... лежал...

и ЛЕЖАЛ!

А вы думали лапки только у котиков?

В какой момент ситуация изменилась, мы не знаем, но когда мы пришли с обеда, то застали такую картину.

Особенно эпично самец улепётывает после окончания процесса.

Другие интимные подробности из жизни крокодилов, и наших и не наших Крокодильи песни о любви и Почему крокодила не возьмут в пикабушники?

Показать полностью 9 2
[моё] Животные Крокодилы Пензенский океанариум Пенза Брачные игры Видео Длиннопост
17
81
oceanpnz
oceanpnz
3 года назад
Лига биологов
Серия Как размножаются рыбы

Рыбы размножаются. Часть 3. Что нам стоит дом построить?⁠⁠

Трудно ли построить дом? Особенно если у тебя лапки даже лапок нет?

Довольно сложно, однако оно того стоит. Хитрые самцы рыб быстро выяснили, что наличие отдельной жилплощади резко повышает шансы на размножение. А поскольку готовых удобных коттеджей на всех не напасёшься, то проще жилище построить. Причём эта конструктивная мысль пришла в их светлые головы задолго до того, как по телевизору начали показывать "Дом-2".

Некоторые дома очень простые. Например гнездо лосося довольно примитивное. Рыба движениями хвоста расчищает грунт, создавая "нерестовый бугор". На него-то и откладывается икра.

Схема гнезда лосося.

Лосось расчищает грунт хвостом.

Парочка осваивает любовное гнёздышко.

Другие дома вроде и не сложны в постройке, но требуют упорства.

Так самцы рыбок-цихлид строят целые песчаные замки. Перенося песок во рту или копая, в зависимости от вида. Если самке результат строительства нравится, то она откладывает икру на вершине сооружения, а гордый строитель оплодотворяет её.

Причем замок играет исключительно роль брачного ложа - после акта любви он больше не нужен - самка всё равно вынашивает икру во рту. Оценивая проделанную работу придирчивая дамочка делает выводы о физическом состоянии самца - хилый и недостойный внимания большую кучу не построит, а так же о наличии у него паразитов. Если паразитов много, то такой рыб больше занят питанием, чем перемещением грунта, и в качестве отца потомства нежелателен.

Вот самцы и стараются изо всех сил, чтобы иметь шанс склонить привлекательную девушку к интиму. Но не все. Некоторые не строят сами, а жульничают. Пока честные строители обедают, или отгоняют конкурентов, обманщики приводят дам на чужие кучи, и добиваются от них взаимности.

Рыбки Нокомис ещё упорнее. Они, подобно Наф-Нафу, в качестве строительного материала используют камни.

Сами рыбки по размеру не велики, всего 12-17 см, но вот их гнезда могут достигать 70 см в диаметре и 13 см в высоту! Вес же всех камней может достигать 40 кг!

Когда давно не было свиданий.

Приступая к строительству упорная рыбка уже имеет план в голове. Нокомис сначала выкладывает контуры гнезда, укладывает первый слой-фундамент и затем формирует насыпь.

http://fishwatching.org/nocomis-nest/

Некоторые рыбы добились столь впечатляющих успехов в строительстве, что этот факт отражён в их названии. Потрясающие воображение гнезда строит японская рыба-архитектор. Архитектор - иглобрюх, то есть родственник рыбы-фугу.

Сама рыбка в центре круга.

Вот он.

Гнезда его так прекрасны, что могут привлечь не одну, а нескольких самок. Он примет всех.

Строительство начинается с выбора места - тут должен быть мелкий песок и несильное течение. Самец строит гнездо 7-9 дней своим телом и плавниками, а затем украшает его раковинами и камушками.

Когда на горизонте появляется самка строитель перепрофилируется в риэлтора - он подбрасывает песок в центре - демонстрируя даме его количество и качество. Если будущей маме всё нравится, то она откладывает икру в центре и уплывает. Когда нерест всех самок заканчивается, самец ухаживает за гнездом - убирает мусор, прогоняет конкурентов и ... строит невдалеке новое, для следующих потомков.

https://elementy.ru/kartinka_dnya/1164/Ryba_arkhitektor

Некоторые рыбы строят используя своё тело не только в качестве инструмента, но и источника строительного материала. Например рыбы колюшки.

Самец строит симпатичное колечко из песка и травы, склеивая их собственными слизистыми выделениями.

Изначально у сооружения есть вход и выход, но после того, как самка отложит в него икру, выход заделывается. И гордый папаша остается сторожить будущее потомство.

Девятииглые колюшки свои гнезда подвешивают.

Еще интереснее гнездо строят бойцовые петушки. Своей возлюбленной они дарят буквально воздушные замки. Самец набирает воздух в рот, и выпускает его уже в виде пузырька в клейкой оболочке.

В это пенное гнездо он и приглашает даму отложить икру.

Однако, как бы не были искусны все вышеперечисленные строители, на мой взгляд всех переплюнул илистый прыгун.

Этот хитрый рыб строит дома под землей, устраивает в них водяной затвор и заполняет кислородом, принося его во рту!

Кислорода в такой пещерке может оказаться не сколько литров.

https://www.nkj.ru/archive/articles/10838/

У нас в океанариуме тоже есть рыбки-строители - фронтозы. Но к сожалению на момент съёмки ни у кого из них не было строительного настроения.

Первая часть Как размножаются рыбы? Часть 1. Половой диморфизм

Вторая часть Как размножаются рыбы? Часть 2. Свадебные путешествия

Показать полностью 18 2
[моё] Животные Рыба Нерест Строительство Пензенский океанариум Пенза Видео Длиннопост
10
97
oceanpnz
oceanpnz
3 года назад
Лига биологов
Серия Как размножаются рыбы

Как размножаются рыбы? Часть 2. Свадебные путешествия⁠⁠

Первая часть о размножении рыб здесь.

Рыбы, чаще всего, представляются довольно примитивными животными. Чего уж там греха таить, многие их и за животных-то не считают, хотя это в корне неверно.

Однако, есть виды, которые отличаются довольно сложным поведением, особенно брачным.

Вот о нём о поговорим, тем более, что день располагает.

Любовь и осетры.

Для начала определимся, что запускает у "рыбов" любовное настроение.

Чаще всего это увеличение светового дня, повышение температуры воды, увеличение концентрации кислорода в воде и обилие корма. В общем всё как у котов и людей - тепло, солнышко, воздух, и вот ты уже готов отдать кому-то своё сердечко, пусть и всего лишь двухкамерное.

- Выйдешь за меня?

- Ну не здесь же! Вот пройдём вместе тысячу километров...

Некоторые рыбы к любовной поре относятся очень серьёзно и готовятся заблаговременно. Например, отправляются в долгое романтическое путешествие всей оравой. Так поступают осетровые - севрюга, белуга, русский и атлантический осётр, шип.

Сезон размножения у них летом, но выдвигаются к заветному месту они ещё весной, или даже осенью. Тем более, что плыть приходится далеко и против течения - подниматься из солёного моря в пресные реки. Такая миграция вверх по течению называется катадромной от латинского "бегущий вверх". Очень красиво - бегущие против волн за любовью!

Как и положено влюблённым таким низменным предметом, как пищей, осетры во время миграции не интересуются, и существуют исключительно на внутренних запасах до самого часа Х.

Молодняк в такие походы не берут. Им приходится ждать своего часа. Хлопцам - 8-13 лет, девчонкам и того дольше, иногда аж до 20 лет.

Осетры на нересте.

Отнерестившись обессиленные рыбы возвращаются в море. Надо ли говорить о том, что такие прогулки крайне выматывают, и нерестятся самки не чаще раза в три года. Самцы - чуть чаще.

Лососевые тоже ходят размножаться большой компанией.

Горбуши идут на нерест строем.

Самцы у горбуш перед главным путешествием своей жизни кардинально меняют имидж. Из серебристой рыбки они становятся красноватыми, отращивают горб и зубы.

Такому красавцу точно не откажешь!

С самкой, для сравнения.

Рыбы поднимаются против течения.

Заканчивается такое путешествие печально - отнерестившись лососевые сильно худеют, и в большинстве случаев гибнут. В общем - нет повести печальнее на свете... Правда после них остается многочисленное потомство, готовое продолжить дело родителей.


Ловить рыбу во время нереста запрещено, но некоторые этот запрет обходят.

У медведей так вообще праздник, во время таких миграций.

Кроме того, что такие путешествия опасны сами по себе, и в них гибнет огромное количество рыбы, так ещё и проходу влюбленных мешают плотины.

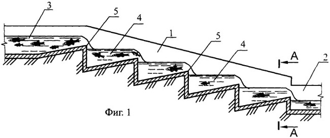
Чтобы не мешать ходу рыбы создаются сложные технические устройства в плотинах - рыбоходы, рыбоспуски, рыбоподъемники и лифты для рыбы.

Ступенчатый рыбоход.

Лифт для рыбы.

Устройство ступенчатого рыбохода против течения.

Плывите, рыбы, и будьте счастливы! Совет да любовь!

Наши осетровые. У нас не размножаются.

Показать полностью 14 1
[моё] Животные Биология Рыба Нерест Пензенский океанариум 14 февраля - День святого Валентина Длиннопост Пенза Видео
13
1256
oceanpnz
oceanpnz
3 года назад
Лига биологов
Серия Всё о крокодилах

Бронекрокродилы - дополнительные кости прямо в коже⁠⁠

Если мы захотим посмотреть на скелет крокодила, то поиск на выдаст что-то такое.

Ну, или такое.

И всё в этих картинках хорошо и правильно. За исключением того, что костей у крокодила намного больше!

И находятся эти "бонусные" косточки прямо в коже.

Они, кстати, именно так и называются - "остеодермы". Т.е. если перевести дословно, то получится "костекожа". Выглядят они так.

Это губчатые округлые косточки с отверстиями для сосудов и нервной ткани.

Снаружи их тоже видно. Вместе с верхним роговым слоем они создают характерные бугорки на коже крокодила.

Их узор неповторим. И, по одной из версий, своё название крокодил, что с древнегреческого переводится как "галечный (или каменный) червь" получил именно из-за них.

Располагаются остеодермы в толще кожи. На этой картинке они обозначены как костная чешуя.

На этой картинке изображена чешуя ящерицы (схемы крокодильей кожи я увы не нашла), и чешуйки прикрывают одна другую как черепица. У крокодилов роговые щитки располагаются просто рядом.

Скелет с остеодермами выглядит так.

Здесь проделана просто ювелирная работа, и выделены и самые тонкие остеодермы. Видите, они как лепестки. Очень скрупулёзно.


Скелет гладколобого каймана с остеодермами.

Или так.


Скелет гавиала с остеодермами.

Ископаемый крокодил с остеодермами.

А вот на этой жутковатой картинке видно, как остеодермы крепятся к коже. А верхнего рогового слоя здесь нет.

Для чего же крокодилы таскают на себе эту лишнюю тяжесть?

Ну, во первых для защиты. Скушать кого-то, кто имеет кости не только внутри, но и снаружи, несколько сложнее. Хотя сами крокодилы с этим прекрасно справляются, да и некоторым ягуарам и леопардам это под силу.


Остеодермы говоришь? Ну иди сюда - попробуем!

У взрослых крокодилов остеодермы увеличивают поверхность тела (что важно при баскинге - прогревании на солнышке) и накапливают тепло, как своеобразные аккумуляторы. Мой пост о баскинге у крокодилов.

Хорошо всегда иметь с собой солнечную батарею!

Так же губчатые остеодермы хорошо накапливают минеральные вещества.

Остеодермы растут вместе с крокодилом. Чем крокодил старше, тем они больше, шире и толще.

Но, что хорошо для крокодила, то плохо для скорняка. В связи с этим для изготовления изделий берётся кожа животных до 7 лет, или с брюшка, где окостенения не так выражены. На животе и груди это гладкие прямоугольники и квадраты, здесь кожа самая мягкая.

Однако, если ваша задача - дополнительная брутальность или защита, то можно использовать кожу с остеодермами специально. Как в этой куртке.

Люди поняли это ещё в древние времена, и научились делать из шкур крокодила доспехи для воинов.

Это доспехи римского воина из целиковой кожи крокодила.

Или в таком виде. Здесь остеодермы хорошо видны.

Шлем.

Причём на части шлема роговой слой сохранился, а на части - стёрся, и стали видны остеодермы.

Фото шлема отсюда. Там несколько фотографий этих доспехов. Египет, III век до н.э.

Ну, и напоследок, немного крупных планов Дориной кожи. Дора наш младший крокодильчик, и её можно сфотографировать так.

Все фото и рисунок с интернета, кроме Дориных.

Показать полностью 24
[моё] Пензенский океанариум Крокодилы Животные Кожа натуральная Пенза Длиннопост
72
289
oceanpnz
oceanpnz
3 года назад
Лига биологов
Серия Всё о крокодилах

Какого цвета крокодил?⁠⁠

Задай я вам этот вопрос, вы посмотрите на меня с изумлением.

Зелёного! Какого же ещё? Любой ребёнок это знает, не то что взрослый.

Ну, а теперь давайте посмотрим на предмет нашей дискуссии повнимательней.

Какой цвет преобладает?

Различные оттенки бежевого и чёрного.

Смотрим дальше.

Жёлтый.

Серый.

Чёрный.

Оранжевый!!!

Справедливости ради следует указать, что оранжевые крокодилы встречаются всего в одном месте нашей планеты: в пещере Абанда в Западной Африке. Такой специфический окрас они приобрели не потому, что они хипстеры, а из-за образа жизни. Живут зубастые "морковки" в пещерах, кишащих летучими мышами. Питаются этими же незадачливыми летунами. А поскольку мышки все свои делают не вылетая из пещеры, то все их отходы жизнедеятельности попадают в воду, делая её очень щелочной. Такой вот "автозагар" для крокомодников.

И, наконец, белый!

Белые крокодилы не отдельный вид, и не вариант окраса. Они альбиносы. В дикой природе выживают крайне редко, уж больно они приметные.

Как видите - ни одного зелёного. Но если вам кажется, что моя подборка предвзята, то можете просто написать в любом поисковике - "крокодил фото". Выйдет примерно такая рандомная коллекция фотопортретов. Зелёными их назвать можно, но с большой натяжкой. В лучшем случае зелёный оттенок здесь только угадывается.

И даже если мы захотим специально найти зелёного крокодила, и поставим именно такой запрос, то результат на всё равно не очень порадует. Поскольку зелёный окрас придают крокодилу либо водоросли, либо освещение, или вообще фоторедактор.

Ну, и кто тут зелёный?

Фото крокодильего бочка поближе.

Крокодилы в естественной  среде.

Так что "зелёный крокодил" скорее привычное для нас обозначение, устоявшаяся фигура речи, чем реальный окрас животного. На деле же  крокодил имеет маскировочный окрас, который особенно актуален для него в детстве, поскольку много кто желает пообедать будущей грозой побережья. Преобладающие цвета будут зависеть от среды обитания. Это оттенки песка, глины, камней, жухлой травы. Т.е. серого, жёлтого, коричневого, черного, и иногда болотного, оливкового или хаки. В яркой зеленой траве крокодилы проводят не так много времени, и им нет необходимости быть изумрудного цвета. Среди сочной водной растительности они прячутся по-другому- просто погружаясь под воду, и выставляя наружу лишь ноздри и глаза. Ночью же, когда крокодилы тоже активно охотятся, в том числе и на суше, достаточно быть просто темного цвета.

Ночью все крокодилы серы!

Наши Лера и Валера тоже не слишком зелёные. На фото Лера, она скорее жёлтая. Её натуральный цвет немного искадает вода. Это видно по камням. Глаза у неё тоже жёлтые. Валера чуть темнее, он скорее коричневый.

Показать полностью 15
[моё] Животные Крокодилы Пензенский океанариум Длиннопост
48
493
oceanpnz
oceanpnz
3 года назад
Лига биологов
Серия Всё о крокодилах

Крокодил-дил-дил плывёт, а так же ползёт, идёт и галопирует⁠⁠

Поговорим сегодня о том, как крокодилы перемещаются из точки А в точку Б.

Т.е. о локомоции.

Если между двумя вышеуказанными точками есть вода, то крокодил это расстояние просто проплывает, и это его любимый способ передвижения.

Причём плавать он может и у самой поверхности воды, выставив наружу глаза и ноздри...

... и погружаясь в воду целиком.

Крокодилы отлично приспособлены для плавания и жизни в воде. У них сильное плоское тело, мощный мускулистый хвост, сжатый с боков - это и есть мотор, перепонки на лапах, глаза закрываются прозрачным третьим веком, ноздри и горло специальными клапанами.

Кажущийся увальнем крокодил развивает в воде скорость 25-30 км в час. Да ещё и выпрыгивать из неё может! Плавает крокодил при помощи хвоста. Лапки прижимает к телу, чтобы не затрудняли движения сквозь толщу воды.

На этом видео крокодил плывёт не совсем типично, активно помогая себе лапами. Но и плыть ему гораздо труднее, ведь он несёт добычу!

Но тем не менее движения хвоста хорошо видны.

На суше крокодилу передвигаться труднее. У него тяжёлое тело, до 1000 кг у самцов гребнистых и нильских крокодилов. Поэтому чаще всего эта рептилия ползает на брюхе, отталкиваясь конечностями.

Специально для таких упражнений живот и грудь у них укреплёны щитками.

Ползают крокодилы со скоростью 10-14 км в час. Не так быстро, но зато не слишком много энергии тратится.

По следам на грязи видно, что хвост в ползании тоже участвует.

Однако, если зубастый спешит, то на этот случай у него предусмотрена "высокая походка" - это официальное её название.

Молодые крокодилы так ходят чаще, т.к. они ещё не такие тяжёлые.


"Высокой походкой" ты вышла из мая!

По улице ходила, большая крокодила...

Ничего необычного, просто крокодил идёт по своим делам.

При этом крокодил идёт "рысью": левая передняя, правая задняя, правая передняя, левая задняя.

Если же он находится на границе воды и суши, то он может делать это очень быстро. Видно при этом, что его хвост делает те же движения, что и при плавании.

Но ещё более удивительно, что некоторые виды крокодилов умеют бегать! И не просто бегать, а бегать галопом!

В галопе его скорость увеличивается до 18 км в час!

Последовательностей движений при крокодильем галопе.

Галопом называется такой бег, в котором присутствует безопорная стадия. Т.е. в какие-то доли секунды крокодил зависает в воздухе!

Наши кроки, Лера и Валера, ходить не любят. И хотя я видела у них высокую походку, зафиксировать на фото или видео мне не удалось.

В качестве компенсации предлагаю Лерины лапки.


А Вы думали, что лапки только у котиков?!

На задних видны перепонки.

И она же поздравляет вас с Новым годом!

Все видео и фото из интернета, кроме Лериных.

Показать полностью 17 4
[моё] Пензенский океанариум Крокодилы Животные Пенза Видео Длиннопост
69
255
oceanpnz
oceanpnz
3 года назад
Лига биологов
Серия Всё о крокодилах

О крокодиловых слезах и немного красивого⁠⁠

А давайте последний крокопост в этом году напишем про что-нибудь красивое. А поскольку он всё равно будет про крокодилов, то пусть он будет про крокодилов и бабочек. А так же про слёзы.

Плачь, плачь, танцуй, танцуй. Беги от меня - я твои слёооооозы!

Итак, крокодилы умеют плакать. Чаще всего они это делают, не когда читают дамские романы, а когда едят. Люди на эту особенность обратили внимание уже очень давно, и попытались объяснить как сумели. По одной из версий, высказанной, например, патриархом Фотием в IXв. крокодил плачет, из-за того что в голове жертвы слишком мало мяса, и он не может её проглотить.

По другой, высказанной Плутархом, сытому хищнику становится жаль загубленной жизни. Последнее толкование даже получило хождение в виде фразеологизма "крокодиловы слёзы", обозначающего неискреннее сожаление.

Зоологов ни то, ни другое объяснение  не устроило, и они принялись искать своё. И пришли к выводу, что жидкость, выделяемая из глаз крокодилов, слезами не является в принципе, и слёзной железы у них нет вовсе. Зато есть железа солевая. Такая железа есть у некоторых птиц, морских черепах, морских игуан.


Солевая железа у птицы. Излишки соли с жидкостью выводятся через нос.

Солевая (или носовая) железа служит для выведения излишков соли из организма. Крокодилы не умеют потеть, и их почки не всегда справляются, с поставленной задачей. Сама солевая железа – совокупность мельчайших трубочек, оплетаемых кровеносными сосудами. Эти трубочки – за счёт разницы в давлении – забирают из крови соль, образуя концентрированный солевой раствор. Этот раствор собирается в центральном канале солевой железы и изливается наружу через выводной поток. У крокодилов проток открывается в угол глаза. Вот почему когда солевая железа выполняет свою работу, людям и кажется, что крокодил «плачет».

И как и у людей, у крокодилов есть те, кто на их слезах наживается. И это милейшие существа - бабочки!

Бабочки слетаются целыми стайками, чтобы попить крокодиловых слёз. Это явление даже получило специальный термин - лакрифагия (питание слезами). При этом красавицы являются паразитами, хотя и безвредными для "объедаемого". Предположительно бабочек привлекает в слезах белок альбумин, а также натрий (нужен для откладывания яиц).


Аха-ха! Уйдите, щекотно же!

Крокодил закрыл глаза - столовая прикрыта!

Черепах они тоже атакуют.

Не суровый хищник, а просто новогодняя ёлка какая-то!

Кстати, о Новом годе - Лера и Валера поздравляют всех с наступающим и надеются на то, что вы будете читать про них и в новом году тоже!

Показать полностью 8 1
[моё] Пензенский океанариум Крокодилы Слезы Бабочка Видео Длиннопост
1
636
oceanpnz
oceanpnz
3 года назад
Лига биологов
Серия Всё о крокодилах

Ответ на пост «Сегодня я узнал что-то новое»⁠⁠1

или "Ааааа, крокодилы-бегемоты"...

Любите ли вы соседей?

А если ваши соседи топчутся на вашем огороде, собираются там компашками, да ещё и обижают ваших детей? И если ваш привычный милый дом расселили, и дали вам квартиру на окраине города, вместе вот с этими понаехавшими?

Вот и бегемоты не любят.


Катитесь обратно в своё болото, зелёные!

Крокодилиха: Сами катитесь, я тут гнездо строить буду!

Итак, крокодилы и бегемоты соседи. А между соседями всякое бывает.

Порой они сосуществуют довольно мирно.

А иногда и стычки случаются.


Пацаны, наших бьют!

Что же им делить?

Ну, во-первых, как и всем соседям - территорию.

И эти другие большую часть времени проводят в воде. Крокодилы там охотятся. Бегемоты мокнут. Гиппопотамы не могут без воды, они проводят там до 6 часов. Их толстая, до 4 см, но при этом нежная кожа пересыхает на солнце, поэтому подкормиться они выходят в основном ночью, или утром и вечером.

Крокодилы тоже любят поотмокать, но и на сушу им нужно - там ходит много вкусного, а ещё там тепло. Крокодил - холоднокровная рептилия, прогреться на солнышке им жизненно необходимо, иначе крокодил будет вял, ленив и не в аппетите. Пост об этом.


А во-вторых, беспокойные соседи угрожают их детям. Крокодилы бегемотикам - прямо. Потому что они вкусные. Взрослые тоже вкусные, но с ними не справишься.

А бегемоты угрожают крокодильчикам косвенно. Они топчут крокодильи кладки, и прогоняют и иногда убивают их матерей. Про мам-крокодилиц здесь. Впрочем и молодых крокодилов они порой тоже превентивно мочат.


Особенно, когда те наглеют.

Ты топчешь мой газон!

Это не газон, а детская площадка!

Когда же начинается сезон засухи, то ситуация только осложняется. И бегемоты и крокодилы вынуждены покидать пересыхающие водоёмы, и искать новые. Концентрация и тех и других возрастает, отношения ещё больше обостряются.

И те, и другие всё чаще гибнут, от ран, от голода, от давки. Впрочем, крокодилы и из этого извлекают пользу.

В прямой схватке крокодила и бегемота победит скорее всего бегемот. Он больше, выше, сильнее. У него острые большие клыки, затачивающиеся друг об друга, и другие  зубы, которыми он в состоянии перекусить крокодила пополам.


Челюсть бегемота.

Кроме того, его пасть очень широко раскрывается.


Крокодил как раз поместится!

Вот и поместился!

У крокодила тоже острые зубы, и мощный укус, но у бегемота толстая кожа, и большие объёмы. Укусить его всеми зубами не получится. Разве что за конечность.


Бегемоты, хоть и выглядят милыми увальнями, крайне агрессивные ребята, в крови их самцов оооочень много тестостерона. Они нападают на всех нарушителей границ, которые установили сами, в том числе и на людей. По вине бегемотов гибнет около 3000 человек в год. А крокодилы убивают только тысячу двуногих. Это при том, что крокодилы делают это для пропитания. А бегемоты для удовольствия так защищают территорию.

Кроме того, гиппопотамы социальные животные и живут стадом. И начистить пасть наглецу могут также всем районом.

И даже иногда защищают животных другого вида.

Так что, в общем и целом, крокодилы и бегемоты не очень ладят, как и всякие соседи.

Ну, а если кто кого и лизнул, то между соседями всякое случается.


Лера: А теперь, Валера, мы с тобой будем играть. Представь, что я молодая бегемотица.

Показать полностью 13 1
[моё] Бегемот Крокодилы Познавательно Пензенский океанариум Зубы Животные Пенза Видео Ответ на пост Длиннопост
43
Посты не найдены
О нас
О Пикабу Контакты Реклама Сообщить об ошибке Сообщить о нарушении законодательства Отзывы и предложения Новости Пикабу Мобильное приложение RSS
Информация
Помощь Кодекс Пикабу Команда Пикабу Конфиденциальность Правила соцсети О рекомендациях О компании
Наши проекты
Блоги Работа Промокоды Игры Курсы
Партнёры
Промокоды Биг Гик Промокоды Lamoda Промокоды Мвидео Промокоды Яндекс Маркет Промокоды Отелло Промокоды Aroma Butik Промокоды Яндекс Путешествия Постила Футбол сегодня
На информационном ресурсе Pikabu.ru применяются рекомендательные технологии