Ретропонедельник №224. АК-3 и БК-1
Начинаем новую неделю с очередных экспонатов виртуального музея советской бытовой техники. Сегодня это два девайса. Попробуйте угадать, что это-за устройтсва по фото:
Это слуховой аппарат.
В СССР слуховых аппаратов выпускалось некоторое количество. Напомню, что современный слуховой аппарат это не просто устройство, которое делает погромче, а искажает звук так, чтобы скомпенсировать недуг, поэтому слуховой аппарат подбирается врачом. Но более полувека назад, ограничения элементной базы не позволяли всей современной роскоши в обработке сигналов, что есть сегодня, поэтому если эта небольшая коробочка просто сможет сделать звук громче и проработать от батареи хотя бы день - уже шаг вперед.
Все настройки под крышкой батарейного отсека. Использовались два источника питания - "таблетки", скорее всего это были аккумуляторы. Заглянем внутрь, вы же этого ждете:
А вот еще одна модель: Кристалл, БК-1
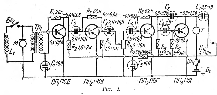
Слуховой аппарат "Кристалл" выпускался с 1956 года Московским заводом слуховых аппаратов. Предназначен для компенсации потерь слуха по воздушной или костной звукопроводимости. Питание от 1-го элемента типа А. Максимальное акустическое усиление 55 дБ. Потребляемая мощность 10 мВт. Габариты 59х82х19 мм. Масса 125 г.



Внутри:
Схема:
Телеграм канал в профиле, если кому удобнее следить там.



















TECHNO BROTHER
2.1K поста13.5K подписчиков
Правила сообщества
1-Мы А-политическое сообщество. 2-Запрещено оскорбление: Администрации Пикабу, сообщества, участников сообщества а также родных, близких выше указанных.
3-Категорически запрещается разжигание межнациональной розни или действий, направленных на возбуждение национальной, расовой вражды, унижение национального достоинства, а также высказывания о превосходстве либо неполноценности пользователей по признаку их отношения к национальной принадлежности или политических взглядов. Мат - Нежелателен. Учитесь выражать мысли без матерщины