STA333BW + 0.96 OLED — цифровой усилитель 2х20 Вт (Arduino)
S/PDIF (Sony/Philips Digital Interface) – распространенный и стандартизированный интерфейс, предназначенный для передачи цифрового звука между доступными компонентами, звуковыми картами, ресиверами и аудиоаппаратурой.
I2S — стандарт интерфейса электрической последовательной шины, использующийся для соединения цифровых аудиоустройств. Применяется для передачи PCM-аудиоданных между интегральными схемами в электронном устройстве. Шина I2S передает по разным линиям сигналы синхронизации и сигналы данных, что приводит к снижению фазового дрожания, типичного для систем связи, восстанавливающих сигналы синхронизации из целого потока.
STA333BW — полнофункциональный цифровой аудио усилитель (класса D), включающий силовой каскад для системы стерео усилителей. В STA333BW интегрирована система цифровой обработки аудиосигнала (ЦАП), высокоточный цифровой ШИМ-модулятор и два мощных полномостовых каскада питания МОП-транзисторов.
STA333BW поддерживает формат передачи цифровых данных I2S (I²S — стандарт интерфейса электрической последовательной шины, использующийся для соединения цифровых аудиоустройств) с частотой дискретизации от 8 кГц до 192 кГц, с разрешением до 24 бит.
Усилитель может работать в нескольких режимах подключения нагрузки:
В статье будет рассмотрен только первый вариант подключения нагрузки к усилителю (выход 2.0 — 2х20 Вт при напряжении питания 18 В).
Усилитель выдает 2 x 20 Вт, оснащен цифровым регулятором громкости, баланса, регуляторы тембра ВЧ и НЧ, регулятор полосы НЧ, de-emphasis, так же доступны функции MUTE и STANDBY.
Структурная схема усилителя
Ресивер S/PDIF собран на ИМС DIR9001, так как вход DIR9001 имеет вход уровня TTL, сигнал S/PDIF подается через преобразователь интерфейса MAX485. DIR9001 поддерживает формат I2S, 24 бит, частота дискредитации 96 кГц.
Для вывода информации о настройках используется дисплей 0.96′ I2C 128X64 OLED. Управление OLED дисплеем в данном примере осуществляется при помощи шины I2C.
Параметры дисплея SSD1306:
Технология дисплея: OLED
Разрешение дисплея: 128 на 64 точки
Диагональ дисплея: 0,96 дюйма
Угол обзора: 160°
Напряжение питания: 2.8 В ~ 5.5 В
Мощность: 0,08 Вт
Габариты: 27.3 мм х 27.8 мм х 3.7 мм
Основные параметры усилителя STA333BW
Напряжение питания цифровое и аналоговое 3,3 В
Напряжение питания для выходного каскада усилителя от 4.5 В to 21.5 В
Режим работы 2.0 и 2.1 (в данном примере рассматривается режим работы 2.0)
Выходная мощность в режиме 2.0 … 2 x 20 Вт (8 Ом 18 В)
Выходная мощность в режиме 2.1 … 2 x 9 Вт + 1 х 20 Вт (8 Ом 18 В)
Динамический диапазон 100 дБ
Частота дискредитации от 32 до 192 кГц
Управление цифровое I2C
Регулировка громкости от -80 до 48 дБ с шагом 0,5 дБ
Регулировка тембра ВЧ НЧ ±12 дБ с шагом 2 дБ
Регулировка полосы НЧ от 80 до 340 Гц (14 шагов)
Коэффициент гармоник не более 0,2 % (Po = 1 W f = 1 kHz)
КПД 90% в режиме 2.0
Зашита от перегрева и токовая защита
Схема ресивера
Схема усилителя
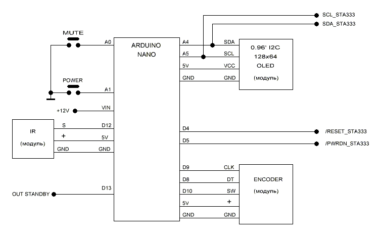
Схема управления
Схема источника питания
Для управления работой усилителя используется плата Arduino Nano, две кнопки и энкодер (модуль KY-040), так же управление полностью продублировано ИК пультом, информация о текущих настройка отображается на дисплее 0.96′ OLED.
На дисплей выводится пять меню, переключение меню осуществляется при помощи кнопки энкодера.
Меню громкости
Bass
Treble
Частота Bass
Баланс
Дополнительные функции
STANDBY (ток потребления усилителя в режиме STANDBY 0.3 мкА)
MUTE
De-emphasis
ИК пульт дублирует работу энкодера и кнопок. Для управления усилителем подойдет практически любой пульт ИК, для поддержки Вашего пульта необходимо прописать коды кнопок в скетч:
#define IR_1 0x2FDD02F // Кнопка menu up
#define IR_2 0x2FD32CD // Кнопка menu dw
#define IR_3 0x2FD906F // Кнопка >
#define IR_4 0x2FDF20D // Кнопка <
#define IR_5 0x2FDF00F // Кнопка MUTE
#define IR_6 0x2FD00FF // Кнопка STANDBY (POWER)
#define IR_7 0x2FD6A95 // DEMP
Для получения кодов кнопок Вашего пульта загрузите скетч и откройте монитор порта, при нажатии кнопки пульта его код будет отображен в мониторе порта.
Скетч - http://rcl-radio.ru/?p=130127
















TECHNO BROTHER
2.1K пост13.6K подписчиков
Правила сообщества
1-Мы А-политическое сообщество. 2-Запрещено оскорбление: Администрации Пикабу, сообщества, участников сообщества а также родных, близких выше указанных.
3-Категорически запрещается разжигание межнациональной розни или действий, направленных на возбуждение национальной, расовой вражды, унижение национального достоинства, а также высказывания о превосходстве либо неполноценности пользователей по признаку их отношения к национальной принадлежности или политических взглядов. Мат - Нежелателен. Учитесь выражать мысли без матерщины